LEMON Manuals: Even more car manuals for everyone: 1960-2025
Home >> Acura >> 2025 >> Integra Base >> Repair and Diagnosis (Single Page) >> Quick Lookups >> Electrical Component Locations >> Electrical Component Locator And Service Information : Windshield Area >> Exploded View >> Windshield Area >> Repair Procedure
April 5, 2026: LEMON Manuals is launched! Read the announcement.

Repair Procedure

How to use this service information .

GHH657545Courtesy of HONDA, U.S.A., INC.

: Torque, N.m (lbf.ft)

: Replace

: Warning/Caution

: Inspection/Adjustment

*: Learning

: SPL Tool

: Required Removal

*1: With automatic wiper*2: For some models*3: Part(s) are shown for one side only as the procedure is the same for both sides.

GHH657546Courtesy of HONDA, U.S.A., INC.

: Torque, N.m (lbf.ft)

: Replace

: Warning/Caution

: Inspection/Adjustment

*: Learning

: SPL Tool

: Required Removal

  1. A.-

    Sub-Procedure 

    Removal 

    1. Insert a small-tip trim tool (a) between the windshield side trim (b) and the A-pillar.

    Tool Details 

    Name
    a, c Trim tool(Commercially available tool)
    GHH657547Courtesy of HONDA, U.S.A., INC.

    2. Pull up the windshield side trim with the wide-tip trim tool (c). Push the retainers (d) with the small-tip trim tool to detach the hooks (e).

  2. B.-

    Sub-Procedure 

    Removal 

    • Detach the hooks (a) and remove the retainers (b). (Figure 1 and 2)

    Figure 1 (Left Side) 

    GHH657548Courtesy of HONDA, U.S.A., INC.

    Figure 2 (Right Side) 

    GHH657549Courtesy of HONDA, U.S.A., INC.
  3. C.-

    Key Information 

    Do the following before starting your work.

    Remove: 

    Sub-Procedure 

    Removal 

    1. Remove the windshield upper molding (a) from the upper edge of the windshield (b). If necessary, cut off the molding with a utility knife. (Figure 1)

    Figure 1 

    GHH657550Courtesy of HONDA, U.S.A., INC.

    2. If the original windshield will be reinstalled, make alignment marks (c) across the windshield and the body with a grease pencil. (Figure 2)

    Figure 2 

    GHH657551Courtesy of HONDA, U.S.A., INC.

    3. Apply protective tapes along the edge of the dashboard and the body. Make a hole with an awl or similar tool, through the rubber dam and the adhesive from inside the vehicle at a corner of the windshield (d). Push a piece of piano wire (e) through the hole, and wrap each end around a piece of wood. (Figure 3 and 4)

    Figure 3 

    GHH657552Courtesy of HONDA, U.S.A., INC.

    Figure 4 (Cutting Positions) 

    GHH657553Courtesy of HONDA, U.S.A., INC.

    4. With an assistant on the outside, pull the piano wire back and forth in a sawing motion. Hold the piano wire as close to the windshield as possible to prevent damage to the body and the dashboard. Carefully cut through the rubber dam and the adhesive (f) around the entire windshield. (Figure 3 and 4)5. Carefully remove the windshield.

    6. Scrape the original adhesive smooth to a thickness of about 1 mm (0.04 in) - 2 mm (0.08 in) on the bonding surface around the entire windshield opening flange with a putty knife.

    NOTE: 

    • Do not scrape down to the painted surface of the body; damaged paint will interfere with proper bonding.
    • Remove the rubber dam from the body.

    Installation 

    1. Clean the body bonding surface with a shop towel dampened with isopropyl alcohol. After cleaning, do not allow oil, grease, and water to contact on the clean surface.

    2. If you are reinstalling the original windshield, scrape off all of the original adhesive, the upper clips, the rubber dam, the windshield lower molding, and the dashboard seal from the windshield with a putty knife. Clean the bonding surfaces on the inside face and the edge of the windshield with isopropyl alcohol. Make sure the bonding surface is kept free of water, oil, and grease.

    3. Install the new upper clips (g), the rubber dams (h), and the dashboard seal (i) with the adhesive tape on the windshield (k) as shown. (Figure 5)

    NOTE: 

    • Before installing the upper clips apply glass primer to the area where the adhesive tape will be applied.
    • Be careful not to touch the windshield where the adhesive will be applied.
    • Install the upper clips, the rubber dams, and the dashboard seal to the windshield, using the alignment marks (m) on the windshield as the guides. (Figure 5)
    • Use the end line (n) of the black ceramic as a guideline to install the dashboard seal. (Figure 5)

    Dashboard Seal Cutting Length (Figure 5) 

    Position Standard Value
    i 1393.3 mm (54.854 in)

    Fitting Specifications (Figure 5) 

    Standard Value
    o 18.3 mm (0.72 in)
    p 17.2 mm (0.677 in)
    q 10 mm (0.39 in)

    Over Flow Allowed Area (Figure 5) 

    Standard Value
    r 20 mm (0.79 in)

    Figure 5 

    GHH657554Courtesy of HONDA, U.S.A., INC.

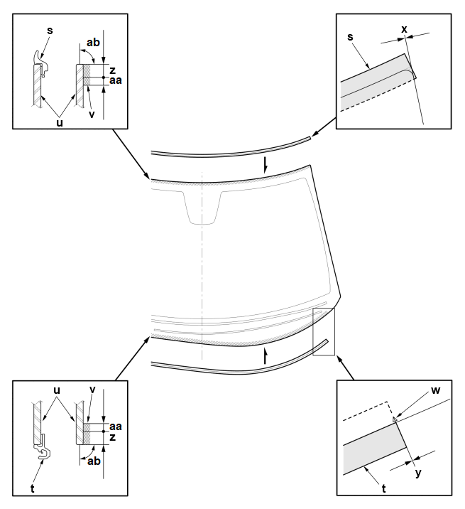
    4. Install the new windshield upper molding (s) and the windshield lower molding (t) with adhesive tape on the windshield (u) as shown. (Figure 6)

    NOTE: 

    • Before installing the windshield upper molding, and the windshield lower molding, apply glass primer (v) to the area where the adhesive tape will be applied. (Figure 6)
    • Be careful not to touch the windshield where the adhesive will be applied.
    • Install the windshield lower molding to the windshield, using the alignment mark (w) on the windshield as the guides. (Figure 6)

    Fitting Specifications (Figure 6) 

    Standard Value
    x 0 +/- 2 mm (0 +/- 0.08 in)
    y 0 +1 -4 mm (0 +0.04 -0.16 in)

    Adhesive Specifications (Figure 6) 

    Position Standard Value
    z 9.5 mm (0.374 in)

    Over Flow Allowed Area (Figure 6) 

    Standard Value
    aa 3 mm (0.12 in)
    ab over flow area

    Figure 6 

    GHH657555Courtesy of HONDA, U.S.A., INC.

    5. Set the windshield in the opening, and center it. Make alignment marks (ac) across the windshield and the body with a grease pencil at the four points shown. Make sure the upper clips (ad) contact with the edge of the body holes. (Figure 7) Be careful not to touch the windshield where the adhesive will be applied.

    NOTE: 

    Figure 7 

    GHH657556Courtesy of HONDA, U.S.A., INC.

    6. Remove the windshield.

    7. Apply a light coat of primer (ae) to the windshield (af) along the edge of the windshield upper molding (ag) and windshield lower molding (ah) as shown, then lightly wipe it off with a gauze or cheesecloth. (Figure 8)

    NOTE: 

    • Apply the primer to corner areas of the windshield using the printed dots (ai) on the windshield as a guide. (Figure 8)
    • Apply primer to the molding.
    • Do not apply body primer to the windshield, and do not mix up the body and glass primer applicators.
    • Never touch the primed surfaces with your hands. If you do, the adhesive may not bond to the windshield properly, causing a leak after the windshield is installed.
    • Keep water, dust, and abrasive materials away from primed surfaces.

    Specifications (Figure 8) 

    Standard Value
    ak 11 mm (0.43 in)
    am 5.5 mm (0.217 in)
    an 6.9 mm (0.272 in)
    ao 9.0 mm (0.354 in)
    ap 9.5 mm (0.374 in)
    aq 10 mm (0.39 in)

    Figure 8 

    GHH657557Courtesy of HONDA, U.S.A., INC.

    8. Carefully apply a light coat of body primer to any exposed paint or metal around the flange where new adhesive will be applied. Let the primer dry for at least 10 minutes.

    NOTICE: 

    Do not apply the glass primer to the body.

    NOTE: 

    • Do not apply body primer to any remaining original adhesive on the flange.
    • Cover on the dashboard before applying the body primer.
    • Be careful not to mix up the body and glass primer applicators.
    • Never touch the primed surfaces with your hands.

    9. Cut a "V" on the end of the nozzle (ar) on the adhesive cartridge as shown. (Figure 9)

    Specifications (Figure 9) 

    Standard Value
    as 12 mm (0.47 in)
    at 7 mm (0.28 in)

    Figure 9 

    GHH657558Courtesy of HONDA, U.S.A., INC.

    10. Put the cartridge in a caulking gun, and run a continuous bead of adhesive (au) on the windshield (av) along the edge of the windshield upper molding (aw), the windshield lower molding (ax), and the rubber dams (ay) as shown. (Figure 10)

    NOTE: 

    • Apply the adhesive within 30 minutes after applying the glass primer.
    • Apply the adhesive to the using the printed dots (az) on the windshield as a guide. (Figure 10)
    • Make a slightly thicker bead at each corner.

    Specifications (Figure 10) 

    Standard Value
    ba 12 mm (0.47 in)
    bb 7 mm (0.28 in)
    bc 6.9 mm (0.272 in)
    bd 11.5 mm (0.453 in)
    be 1 mm (0.04 in)
    bf 2 mm (0.08 in)

    Figure 10 

    GHH657559Courtesy of HONDA, U.S.A., INC.

    11. Hold the windshield with suction cups over the opening, align it with the alignment marks made, and set it down on the adhesive. Lightly push on the windshield until its edges are fully seated on the adhesive all the way around. Carefully remove the suction cups.

    NOTE: 

    Do not open or close any of the doors for about an hour until the adhesive is dry.

    12. Remove the excess adhesive with a putty knife or a shop towel dampened with isopropyl alcohol.

    13. Wait at least an hour for the adhesive to dry, then spray water over the windshield and check for leaks. Mark the leaking areas, let the windshield dry, then seal with sealant: Let the vehicle stand for at least 4 hours after windshield installation. If the vehicle has to be used within the first 4 hours, it must be driven slowly.

    14. Advise the customer not to do the following for 2 to 3 days:

    • Close the doors hard with all the windows rolled up.
    • Twist the body excessively (going in and out of driveways at an angle or driving over rough, uneven roads).

    After Installation 

  4. D.-

    Sub-Procedure 

    Removal 

    1. Press the camera cover lid (a) and the hook (b) release. (Figure 1)

    Removal Directions (Figure 1) 

    Position Direction
    c Press

    Figure 1 

    GHH657560Courtesy of HONDA, U.S.A., INC.

    2. Release the left and right hooks (d) by putting your fingers on the hole (e) of the rearview mirror stay part of the left and right camera cover lids (f) and holding the camera cover lids back and forth to pull them to left and right. (Figure 1 and 2)

    Figure 2 

    GHH657561Courtesy of HONDA, U.S.A., INC.

    3. Refer to figure 3.

    Tool Details (Figure 3) 

    Name
    g Trim tool (Commercially available tool)

    Figure 3 

    GHH657562Courtesy of HONDA, U.S.A., INC.
  5. E.-

    Sub-Procedure 

    Figure 1 

    GHH657563Courtesy of HONDA, U.S.A., INC.

    Removal 

    • Refer to figure 1.

    Figure 2 

    GHH657564Courtesy of HONDA, U.S.A., INC.

    Installation 

    • Refer to figure 2.

    NOTICE: 

    Replace the mount spring whenever the rearview mirror is removed from the windshield.

  6. F.-

    NOTICE: 

    Make sure that there are no stains, dust, or dirt on the lens of the multipurpose camera unit and the windshield area where the camera is mounted.

    Sub-Procedure 

    Removal 

    • Refer to the figure.

    Tool Details 

    Name
    a Trim tool(Commercially available tool)
    GHH657565Courtesy of HONDA, U.S.A., INC.

    After Installation 

  7. G.-

    Sub-Procedure 

    Removal 

    • Refer to the figure.
    GHH657566Courtesy of HONDA, U.S.A., INC.

    Installation 

    NOTICE: 

    Do not press the heater area.

  8. H.-

    Preconditions 

    Sub-Procedure 

    Removal 

    1. Prying on the automatic lighting/rain sensor bracket (a) may cause damage to the bracket. Insert a pick tool from inside the clip (b) as shown, and carefully remove the clip.

    NOTICE: 

    Be careful not to damage the windshield with the tip of the pick tool while working.

    GHH657567Courtesy of HONDA, U.S.A., INC.

    2. Hold the connector portion (c), and carefully remove the automatic lighting/rain sensor (d) and silicon sheet together from the glass surface.

    Installation 

    NOTICE: 

    • If the automatic lighting/rain sensor connector is connected after the 12 volt battery terminal is connected, the automatic lighting/rain sensor will not be confirmed by the body control module.
    • Never touch the primed surface on the automatic lighting/rain sensor with your hands.
    • Be careful not to touch the silicon sheet surfaces, make sure it is clean. Keep it away from dust.
    • Prevent bubbles from developing under the sheet during installation.

    After Installation