LEMON Manuals: Even more car manuals for everyone: 1960-2025
Home >> Audi >> 2000 >> S4 Automatic >> Repair and Diagnosis >> Brakes >> Traction Control >> Anti-Lock Brake System >> Diagnostic Tests >> Abs Module Circuits
April 5, 2026: LEMON Manuals is launched! Read the announcement.

Abs Module Circuits

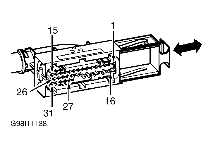
When checking ABS control module circuit, refer to ABS MODULE TERMINAL IDENTIFICATION (A4 & S4)  table. See Fig 1.

ABS MODULE TERMINAL IDENTIFICATION (A4 & S4)

Terminal No. Related Circuit
1 Right Rear Wheel Speed Sensor
2 (1)(2) Right Rear Wheel Speed Sensor
3 (1) Right Front Wheel Speed Sensor
4 (2) Right Front Wheel Speed Sensor
5 Right Front Wheel Speed Sensor
6 Left Front Wheel Speed Sensor
7 Left Front Wheel Speed Sensor
8 Left Rear Wheel Speed Sensor
9 Left Rear Wheel Speed Sensor
10 (3) Instrument Cluster Processor
11 K-Wire
13 (4) PCM; Engine Torque & Misfire Monitoring
14 Stoplight Switch
15 (1) Right Front ABS Wheel Speed Sensor
16 Ground; ABS Return Flow Pump
17 Positive Battery Voltage
18 Positive Battery Voltage
19 Ground; ABS Control Module
20 (4) Traction Control Indicator Light Activation
21 ABS Warning Light Activation
23 (5) Left Rear Speed Sensor Output
24 (5) Right Rear Speed Sensor Output
27 PCM; Engine Torque Input (Actual)
28 (4) Transmission Control Signal
30 (4) Engine RPM Signal
31 ASR Switch (Traction Control System)
(1) Vehicles with front wheel drive and ABS/EDL/TCS.
(2) Vehicles with all-wheel drive and ABS/EDL.
(3) Only vehicles equipped with EDL.
(4) Only vehicles equipped with TCS.
(5) In vehicles with navigation system.
Fig 1: Identifying Terminals Of ABS Control Module (A4, S4)
G98I11138Courtesy of AUDI OF AMERICA, INC.