LEMON Manuals: Even more car manuals for everyone: 1960-2025
Home >> Audi >> 2004 >> A8 >> Repair and Diagnosis (Single Page) >> Body & Frame >> Windows >> Electrical Equipment >> 94 - Lights, Switches - Exterior >> Steering Column Switch Module >> Steering Column Electronic Systems Control Module, Rear Side, Connector Assignment >> Steering Column Electronic Systems Control Module, Rear Side, Connector Assignment
April 5, 2026: LEMON Manuals is launched! Read the announcement.

Steering Column Electronic Systems Control Module, Rear Side, Connector Assignment

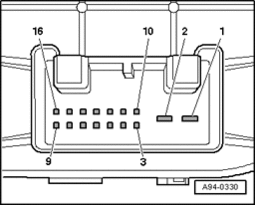
Fig 1: Steering Column Electronic Systems Control Module, Rear Side, Connector Assignment - 16Pin Connector
GW00021561Courtesy of VOLKSWAGEN UNITED STATES, INC.

16pin connector 

  1. Terminal 31
  2. Terminal 30
  3. Powertrain CAN-Bus, shielding
  4. not used
  5. Cruise control latched Off
  6. Alarm (special-purpose vehicles)
  7. Radio telephone (special-purpose vehicles)
  8. CAN Comfort Low
  9. CAN Comfort High
  10. CAN Powertrain High
  11. CAN Powertrain Low
  12. Terminal 15 CAN
  13. Terminal 15
  14. not used
  15. not used
  16. not used
Fig 2: Steering Column Electronic Systems Control Module, Rear Side, Connector Assignment - 4Pin Connector
GW00023977Courtesy of VOLKSWAGEN UNITED STATES, INC.

4pin connector 

  1. Easy Entry
  2. Steering column adjustment switch
  3. Terminal 31
  4. not used