LEMON Manuals: Even more car manuals for everyone: 1960-2025
Home >> Audi >> 2006 >> A3 Base, Standard >> Repair and Diagnosis (Single Page) >> Quick Lookups >> Wiring Diagrams >> OEM Connector End Views >> Connector End Views >> Engine Control Module (ECM) Connector End View (T94, T60)
April 5, 2026: LEMON Manuals is launched! Read the announcement.

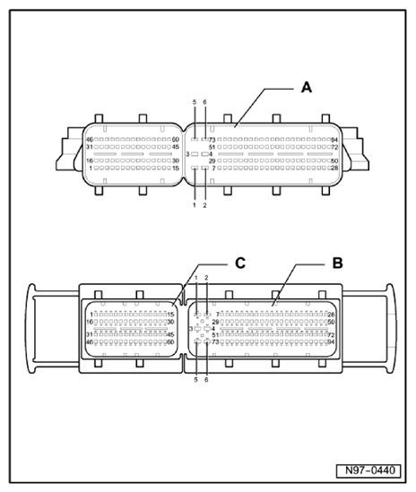
Engine Control Module (ECM) Connector End View (T94, T60)

Fig 1: Engine Control Module (ECM) Connector End View (T94, T60)
G10359721Courtesy of AUDI OF AMERICA, LLC
A Engine Control Module (ECM) Connector
B 94-Pin Connector -T94-
C 60-Pin Connector -T60-