LEMON Manuals: Even more car manuals for everyone: 1960-2025
Home >> Audi >> 2006 >> A3 Base, Standard >> Repair and Diagnosis >> Engine Performance >> System >> 2.0L - Generic Scan Tool - Engine Code(S): BPY >> St Generic Scan Tool >> Diagnosis And Testing >> Diagnostic Procedures >> Intake Flap Motor/Intake Manifold Runner Position Sensor, Checking
April 5, 2026: LEMON Manuals is launched! Read the announcement.

Intake Flap Motor/Intake Manifold Runner Position Sensor, Checking

Special tools and workshop equipment required 

Test requirements 

Test procedure 

-- Perform a preliminary check to verify the customers complaint. Refer to PRELIMINARY CHECK 

Start diagnosis 

-- Remove the engine cover with air filter. Refer to Repair information.

-- Disconnect the Intake Flap Motor -V157- /Intake Manifold Runner Position Sensor -G336- electrical harness connector -arrow-.

Fig 2: Identifying Intake Flap Motor V157/Intake Manifold Runner Position Sensor G336 Electrical Harness Connector
GWWM24-0548Courtesy of AUDI OF AMERICA, LLC

-- Switch the ignition on.

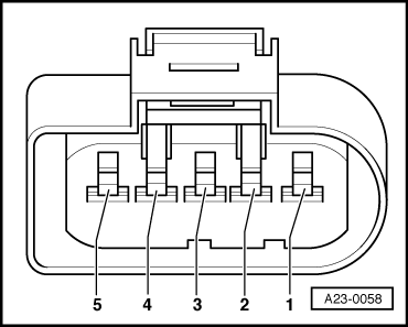
-- Using a Multimeter, check the Intake Flap Motor -V157- /Intake Manifold Runner Position Sensor -G336- electrical harness connector terminals 1 to 3 for voltage.

Fig 3: 5-Pin Electrical Harness Connector & Terminals
GWWA23-0058Courtesy of AUDI OF AMERICA, LLC

Specified value: about 5 V

-- Switch ignition off.

If the specified value was obtained:

-- Replace the Intake Flap Motor - V157- /Intake Manifold Runner Position Sensor - G336-. Refer to Repair information.

If the specified value was not obtained:

Checking wiring 

If the manufacturers test box is being used. Perform the following step.

-- Install the test box. Refer to Repair information.

If the manufacturers test box is not being used. Perform the following step.

-- Remove the Motronic Engine Control Module (ECM) -J220-. Refer to Repair information.

-- Using a Multimeter --, check the Intake Flap Motor - V157- /Intake Manifold Runner Position Sensor - G336- electrical harness connector terminals to the Motronic Engine Control Module (ECM) -J220- electrical harness connector T60 terminals for an open circuit.

Intake Flap Motor - V157- /Intake Manifold Runner Position Sensor - G336- electrical harness connector terminals Motronic Engine Control Module (ECM) -J220- electrical connector T60 terminals or test box socket
1 37
2 22
3 14
4 49
5 34

Specified value: 1.5 Ω Max.

If the specification was not obtained:

-- Check the wiring for a short circuit to each other, Battery (+), and Ground (GND).

-- Check the electrical harness connector for damage, corrosion, lose or broken terminals.

-- If necessary, repair the faulty wiring connection.

If no malfunction is detected in the wiring:

-- Replace the Motronic Engine Control Module (ECM) -J220-. Refer to Repair information.

-- Install the engine cover with air filter. Refer to Repair information.

Final procedures 

After the repair work, the following work steps must be performed in the following sequence:

  1. Check the DTC memory. Refer to DIAGNOSTIC MODE 03 - READ DTC MEMORY .
  2. If necessary, erase the DTC memory. Refer to DIAGNOSTIC MODE 04 - ERASE DTC MEMORY .
  3. If the DTC memory was erased, generate readiness code. Refer to READINESS CODE .