LEMON Manuals: Even more car manuals for everyone: 1960-2025
Home >> Audi >> 2007 >> A3 Base, Standard >> Repair and Diagnosis >> Electrical >> Horns >> Communication >> 91 Communication >> Description And Operation >> Steering Column Electronic Systems Control Module Connectors
April 5, 2026: LEMON Manuals is launched! Read the announcement.

Steering Column Electronic Systems Control Module Connectors

Connectors 

Fig 1: Identifying Multi-Pin Connectors
GWWA91-0986Courtesy of AUDI OF AMERICA, LLC

A - 4-pin connector (T4n) yellow

B - Black 20-pin connector (T20b)

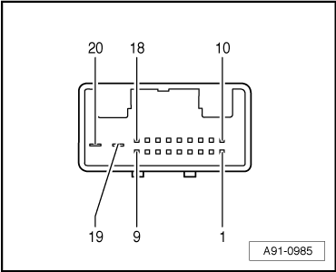
B - Black 20-Pin Connector (T20b) 

Fig 2: Identifying 20-Pin Multi-Pin Connector
GWWA91-0985Courtesy of AUDI OF AMERICA, LLC

11 - CAN bus low (powertrain)

12 - CAN bus high (powertrain)

13 - Cruise control locked "OFF" to engine control module (ECM) -J623-

14 - CAN bus high (Comfort)

15 - CAN bus low (Comfort)

16 - "Parking lock" signal from automatic transmission shift gate

17 - Terminal 15 to Vehicle Electrical System Control Module -J519-

18 - Terminal 50 to Vehicle Electrical System Control Module

19 - Terminal 30

20 - Terminal 31