LEMON Manuals: Even more car manuals for everyone: 1960-2025
Home >> Audi >> 2007 >> S8 >> Repair and Diagnosis (Single Page) >> Electrical >> Wiring Diagrams >> OEM Connector End Views >> Connector End Views >> Comfort System Central Control Module Connector End View (J393)
April 5, 2026: LEMON Manuals is launched! Read the announcement.

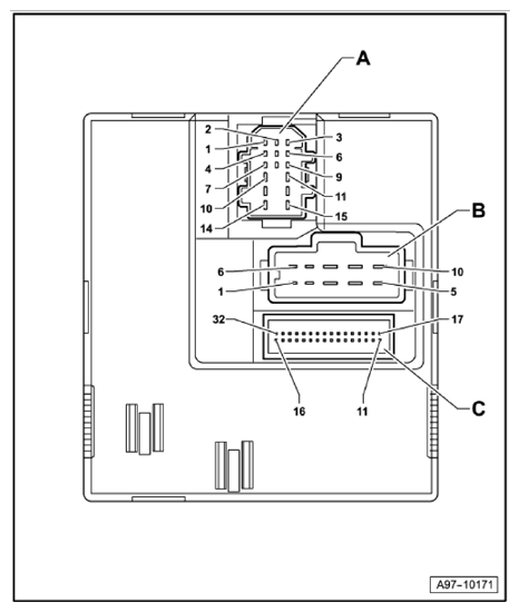
Comfort System Central Control Module Connector End View (J393)

Fig 1: Comfort System Central Control Module Connector End View (J393)
G10359772Courtesy of AUDI OF AMERICA, LLC
A 15-Pin connector -connector A-, black
B 10-Pin connector -connector C-, black
C 32-Pin connector, -connector B-, grey