LEMON Manuals: Even more car manuals for everyone: 1960-2025
Home >> Audi >> 2012 >> A8 Base >> Repair and Diagnosis >> Electrical >> Horns >> Communication >> 91 Communication >> Connection For External Multimedia Devices >> External Audio Source Connection Connectors >> External Audio Source Connection -R199- CONNECTOR ASSIGNMENT
April 5, 2026: LEMON Manuals is launched! Read the announcement.

External Audio Source Connection -R199- CONNECTOR ASSIGNMENT

NOTE:

Unlisted connector terminals are not used.

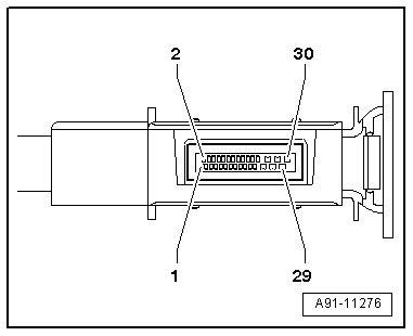
Fig 1: 30-Pin Connector (T30B)
GWWA91-11276Courtesy of AUDI OF AMERICA, LLC

All pins are connected to the Information Electronics Control Module 1 -J794-.

1 - Left LF-In

2 - Right LF-In

3 - LF ground

4 - LF-In ground shielding

13 - iPod data

14 - iPod data

16 - iPod recognized

17 - D (+)

18 - D (-)

21 - Detect

22 - Ground

24 - CVBS cable (-)

25 - USB (ground)

27 - CVBS cable (+)

28 - USB (+5V)