LEMON Manuals: Even more car manuals for everyone: 1960-2025
Home >> Audi >> 2012 >> A8 Base >> Repair and Diagnosis >> Quick Lookups >> Wiring Diagrams >> OEM Connector End Views >> Connector End Views >> Heated Windshield Control Module Connector End View (J505, T4em)
April 5, 2026: LEMON Manuals is launched! Read the announcement.

Heated Windshield Control Module Connector End View (J505, T4em)

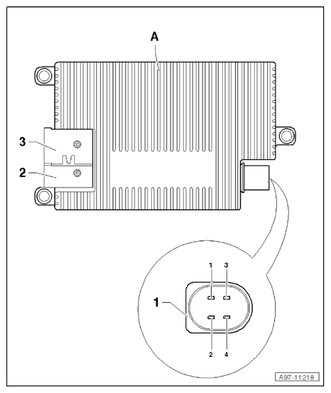
Fig 1: Heated Windshield Control Module Connector End View (J505, T4em)
G10360010Courtesy of AUDI OF AMERICA, LLC
A Heated Windshield Control Module -J505-
1 4-Pin Connector -T4em-, black
2 B1, terminal 30
3 G1, terminal 31