LEMON Manuals: Even more car manuals for everyone: 1960-2025
Home >> BMW >> 1998 >> 528i Standard >> Repair and Diagnosis >> External Pages >> Different car >> Section 1848 (General Electrical System - Repair) >> Plug Connection, Terminal, Fuse Box >> 61 13... Relay carrier
April 5, 2026: LEMON Manuals is launched! Read the announcement.

61 13... Relay carrier

WARNING: This page is about a different car, the 2013 BMW X5 M, 2012 BMW X5 M, 2011 BMW X5 M, and 2010 BMW X5 M. However, it is still accessible from the selected car via links, so may be relevant.

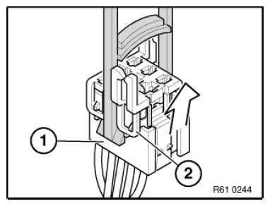
Place special tool 61 1 153 against relay carrier (1) and carefully pull in direction of arrow until the locking tabs (2) of the relay carrier are raised up.

Fig 1: Identifying Relay Carrier And Locking Tabs
G08530404Courtesy of BMW OF NORTH AMERICA, INC.

Pull relay carrier (2) in direction of arrow into the first catch (3).

Fig 2: Identifying Relay Carrier And Catch
G08530405Courtesy of BMW OF NORTH AMERICA, INC.

Press down arrester hook (4) of corresponding contact and pull out the cable with contact.

With special tool 61 1 136 or 61 1 137 (press out) press out dual spring contacts.

Fig 3: Pressing Down Arrester Hook
G08530406Courtesy of BMW OF NORTH AMERICA, INC.