LEMON Manuals: Even more car manuals for everyone: 1960-2025
Home >> BMW >> 2000 >> 740iL >> Repair and Diagnosis >> Steering >> Power Steering >> Steering And Wheel Alignment - Repair >> Electronic Chassis >> 32 00... General information and definitions >> Wheel offset
April 5, 2026: LEMON Manuals is launched! Read the announcement.

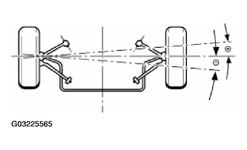
Wheel offset

Angle by which one front wheel is displaced more towards front or rear than the other front wheel.

Fig 1: Identifying Wheel Offset Angle
G03225565Courtesy of BMW OF NORTH AMERICA, INC.