LEMON Manuals: Even more car manuals for everyone: 1960-2025
Home >> BMW >> 2004 >> 525i Standard >> Repair and Diagnosis >> Suspension >> Wheel Alignment >> Steering And Wheel Alignment - Repair >> Electronic Chassis Alignment >> 32 00... General information and definitions
April 5, 2026: LEMON Manuals is launched! Read the announcement.

32 00... General information and definitions

The toe angle difference is the angle adjustment of the inner cornering wheel relative to the outer cornering wheel when negotiating a curve. Steering is designed in such a way that angular position of wheels changes as steering lock progresses.

A correctly adjusted toe angle difference produces equal values for left and right lock with consideration of factory tolerances.

Toe angle difference provides information on corresponding operation of steering trapezoid for left or right steering lock from center position.

Fig 1: Toe Angle Difference "a" & Center Point Of Operating Circle "D"
G03261090Courtesy of BMW OF NORTH AMERICA, INC.

Camber: inclination of the wheel from the perpendicular.

Fig 2: Identifying Inclination Of The Wheel From The Perpendicular
G03261091Courtesy of BMW OF NORTH AMERICA, INC.

Toe: Reduction in distance of front of front wheels to rear of front wheels.

Toe-in prevents the wheels from moving apart during driving and thus:

Measurement is performed in "straight-ahead mode".

Fig 3: Identifying Reduction In Distance Of Front Of Front Wheels To Rear Of Front Wheels
G03261092Courtesy of BMW OF NORTH AMERICA, INC.

Caster

Is the inclination of the kingpin in the direction of travel viewed from the side. The line through the center point of the spring strut support bearing and the control arm ball joint corresponds to the "kingpin".

Thanks to caster, wheels are pulled and not pushed. In a similar manner to king pin inclination, when driving in curves or around corners, returning forces are reproduced to help return wheels to straight-ahead position.

Fig 4: Identifying Inclination Of The Kingpin In Direction Of Travel
G03261093Courtesy of BMW OF NORTH AMERICA, INC.

Geometrical axis 1

Is the angle bisector from the total rear-wheel toe.

Front-wheel measurements are taken in reference to this axis.

Symmetrical axis 2

Center line running through front and rear axles.

Fig 5: Identifying Geometrical Axis And Symmetrical Axis
G03261094Courtesy of BMW OF NORTH AMERICA, INC.

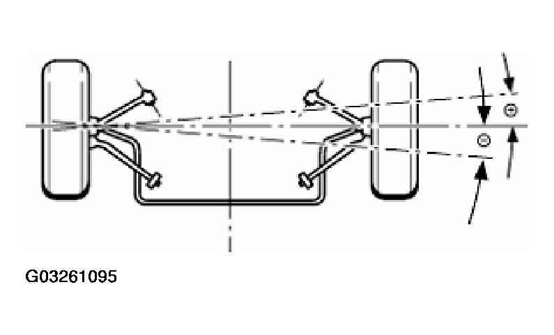
Wheel offset

Angle by which one front wheel is displaced more towards front or rear than the other front wheel.

Fig 6: Identifying Wheel Offset
G03261095Courtesy of BMW OF NORTH AMERICA, INC.

Kingpin offset/scrub radius

Is the distance from the center of the wheel contact face to the intersection point of the kingpin extension. The line through the center point of the spring strut support bearing and the control arm ball joint corresponds to the "kingpin".

The scrub radius is influenced by camber, kingpin angle and wheel offset of the wheel rim.

Fig 7: Identifying Kingpin Offset/Scrub Radius
G03261096Courtesy of BMW OF NORTH AMERICA, INC.