LEMON Manuals: Even more car manuals for everyone: 1960-2025
Home >> BMW >> 2004 >> X5 48i >> Repair and Diagnosis >> Body & Frame >> Windows >> General Electrical System - Repair Instructions >> Plug Connection Termi >> 61 13... Relay carrier
April 5, 2026: LEMON Manuals is launched! Read the announcement.

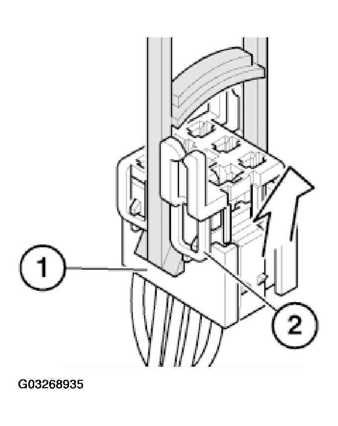
61 13... Relay carrier

Place special tool 61 1 153 on relay carrier (1) and carefully pull in direction of arrow until retaining lugs (2) on relay carrier are raised.

Fig 1: Placing Special Tool On Relay Carrier
G03268935Courtesy of BMW OF NORTH AMERICA, INC.

Pull relay carrier (2) in direction of arrow into first catch (3).

Fig 2: Pulling Relay Carrier
G03268936Courtesy of BMW OF NORTH AMERICA, INC.

Press down arrester hook (4) of appropriate contact and pull out cable with contact.

Press out double flat spring contact with special tool 61 1 136 or 61 1 137 (ejector).

Fig 3: Pressing Down Arrester Hook Of Appropriate Contact
G03268937Courtesy of BMW OF NORTH AMERICA, INC.