LEMON Manuals: Even more car manuals for everyone: 1960-2025
Home >> BMW >> 2006 >> X3 Automatic >> Repair and Diagnosis >> Body & Frame >> Windows >> General Electrical System - Repair Instructions >> Plug Connections, Terminals >> 61 13... Relay carrier
April 5, 2026: LEMON Manuals is launched! Read the announcement.

61 13... Relay carrier

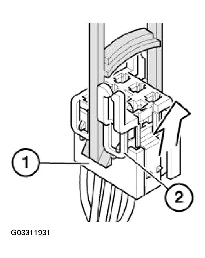
Place special tool 61 1 153 on relay carrier (1) and carefully pull in direction of arrow until retaining lugs (2) on relay carrier are raised.

Fig 1: Placing Special Tool On Relay Carrier
G03311931Courtesy of BMW OF NORTH AMERICA, INC.

Pull relay carrier (2) in direction of arrow into first catch (3).

Fig 2: Pulling Relay Carrier
G03311932Courtesy of BMW OF NORTH AMERICA, INC.

Press down arrester hook (4) of appropriate contact and pull out cable with contact.

Fig 3: Pressing Down Arrester Hook
G03311933Courtesy of BMW OF NORTH AMERICA, INC.

Press out double flat spring contact with special tool 61 1 136 or 61 1 137 (ejector).