LEMON Manuals: Even more car manuals for everyone: 1960-2025
Home >> BMW >> 2007 >> Z4 2D Convertible, Automatic >> Repair and Diagnosis >> Body & Frame >> Windows >> General Electrical System - Repair >> Plug Connection, Terminals >> 61 13... Repairing ribbon cables
April 5, 2026: LEMON Manuals is launched! Read the announcement.

61 13... Repairing ribbon cables

Special Tools Required: 

Place ribbon cables (1) in connector housing (2) and close cover (3).

Fig 1: Identifying Special Tools 61 1 190
G03298473Courtesy of BMW OF NORTH AMERICA, INC.

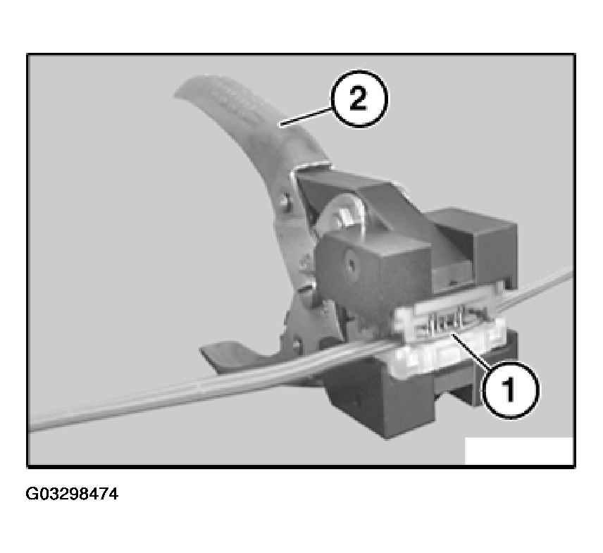
Place connector housing (1) in pliers (2) 61 1 190.

Close pliers (2).

Fig 2: Placing Connector Housing In Pliers 61 1 190
G03298474Courtesy of BMW OF NORTH AMERICA, INC.