LEMON Manuals: Even more car manuals for everyone: 1960-2025
Home >> BMW >> 2011 >> 335d >> Repair and Diagnosis >> Body & Frame >> Windows >> General Electrical System - Repair >> Relay >> 6113... Relay carrier
April 5, 2026: LEMON Manuals is launched! Read the announcement.

6113... Relay carrier

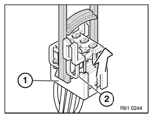
Place special tool 61 1 153 against relay carrier (1) and carefully pull in direction of arrow until the locking tabs (2) of the relay carrier are raised up.

Fig 1: Pulling Relay Carrier In Direction Of Arrow
G06213388Courtesy of BMW OF NORTH AMERICA, INC.

Pull relay carrier (2) in direction of arrow into the first catch (3).

Fig 2: Pulling Relay Carrier In Direction Of Arrow Into First Catch
G06213389Courtesy of BMW OF NORTH AMERICA, INC.

Press down arrester hook (4) of corresponding contact and pull out the cable with contact.

With special tool 61 1 136 or 61 1 137 (press out) press out dual spring contacts.

Fig 3: Pressing Down Arrester Hook Of Corresponding Contact
G06855409Courtesy of BMW OF NORTH AMERICA, INC.