LEMON Manuals: Even more car manuals for everyone: 1960-2025
Home >> BMW >> 2012 >> 135i 2D Convertible, Standard Trans >> Repair and Diagnosis >> Electrical >> Charging Systems >> General Electrical System - Repair >> Plug Connection, Terminal, Power Distribution Box >> 61 13... Crimping stop parts
April 5, 2026: LEMON Manuals is launched! Read the announcement.

61 13... Crimping stop parts

Special tools required: 

  1. Crimping contact sleeves for 4 mm 2  comb connectors and ignition cable contacts 

    Use special tool kit 12 1 080 to attach ignition cable contacts and crimp 4 mm2 contact sleeves for comb connectors.

    See repair instructions 

    SPECIAL TOOLS FOR WIRING HARNESS REPAIRS .

    Fig 1: Identifying Hand Pliers And Nest
    G10022264Courtesy of BMW OF NORTH AMERICA, INC.

    Release special tool 12 1 081 :

    Squeeze grips (1) lightly and push release lever (2) in direction of arrow.

    Or:

    Compress handles until limit position, hand pliers unlock automatically.

    Fig 2: Releasing Lever And Grips
    G10022265Courtesy of BMW OF NORTH AMERICA, INC.

    Place 4 mm2 contact sleeve in nest with anti-twist safeguard (1) as far as possible.

    Fig 3: Locating Safeguard
    G10022266Courtesy of BMW OF NORTH AMERICA, INC.

    Preload contact by squeezing matrix in crimping tool. Grip contact (1) firmly only, do not crimp.

    Fig 4: Pressing Matrix In Crimping Tool
    G10022267Courtesy of BMW OF NORTH AMERICA, INC.
    NOTE: Follow procedure for CUTTING AND STRIPPING INSULATION  from cables.

    Insert stripped end of wire (7) in the contact. Ensure insulation and stripped wire end are correctly laid in contact.

    Compress crimping tool to limit position.

    Crimping tool unlocks automatically.

    Take contact out of crimping tool.

    Fig 5: Identifying Wire Stripped End
    G10022268Courtesy of BMW OF NORTH AMERICA, INC.
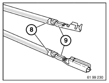
  2. Checking crimping 

    Check insulation crimping (8) and wire crimp (9) against following illustrations to ensure crimps are correctly located.

    NOTE: Illustration shows butt connectors and contact sleeves for comb connectors knocked on one side. The crimping procedure is identical here.
    Fig 6: Identifying Wire Crimp Area
    G10022269Courtesy of BMW OF NORTH AMERICA, INC.

    Correct crimping: 

    Visible conductor end (10).

    Visible insulation end (11).

    Fig 7: Identifying Wire Insulation End
    G10022270Courtesy of BMW OF NORTH AMERICA, INC.

    Incorrect crimping: 

    Conductor end (10) inserted too far.

    Insulation end (11) in wire crimp.

    If necessary, repeat crimping with a new contact.

    Fig 8: Identifying Conductor End Of Crimping Incorrect Position
    G10022271Courtesy of BMW OF NORTH AMERICA, INC.

    Incorrect crimping: 

    Conductor end (10) not visible.

    Insulation end (11) not visible.

    If necessary, repeat crimping with a new contact.

    Fig 9: Identifying Conductor End Of Crimping Incorrect Position
    G10022272Courtesy of BMW OF NORTH AMERICA, INC.