LEMON Manuals: Even more car manuals for everyone: 1960-2025
Home >> BMW >> 2013 >> 760Li >> Repair and Diagnosis >> Steering >> Power Steering >> Steering And Wheel Alignment - Repair >> Pump And Oil Supply >> 32 41... Notes on hydraulic line with quick-connect coupling >> Notes
April 5, 2026: LEMON Manuals is launched! Read the announcement.

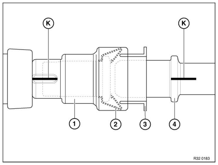
32 41... Notes on hydraulic line with quick-connect coupling: Notes

1) Quick-connect coupling with ID marking

Fig 1: Identifying Quick-Connect Coupling With ID Marking
G08470457Courtesy of BMW OF NORTH AMERICA, INC.