LEMON Manuals: Even more car manuals for everyone: 1960-2025
Home >> Buick >> 1991 >> Reatta 2D Convertible >> Repair and Diagnosis >> Engine Performance >> System >> Engine Controls - Tests W/Codes - Pcm/BCM >> BCM Trouble Code Charts >> Code B552, BCM Keep Alive Memory Error
April 5, 2026: LEMON Manuals is launched! Read the announcement.

Code B552, BCM Keep Alive Memory Error

Code B552 does not necessarily indicate a fault, but is a normal occurrence anytime battery power or ground to BCM has been interrupted. Code B552 cannot be cleared from memory in the normal manner. Code B552 can only be cleared if it is not current. Under normal conditions, code will become "history" under the following conditions:

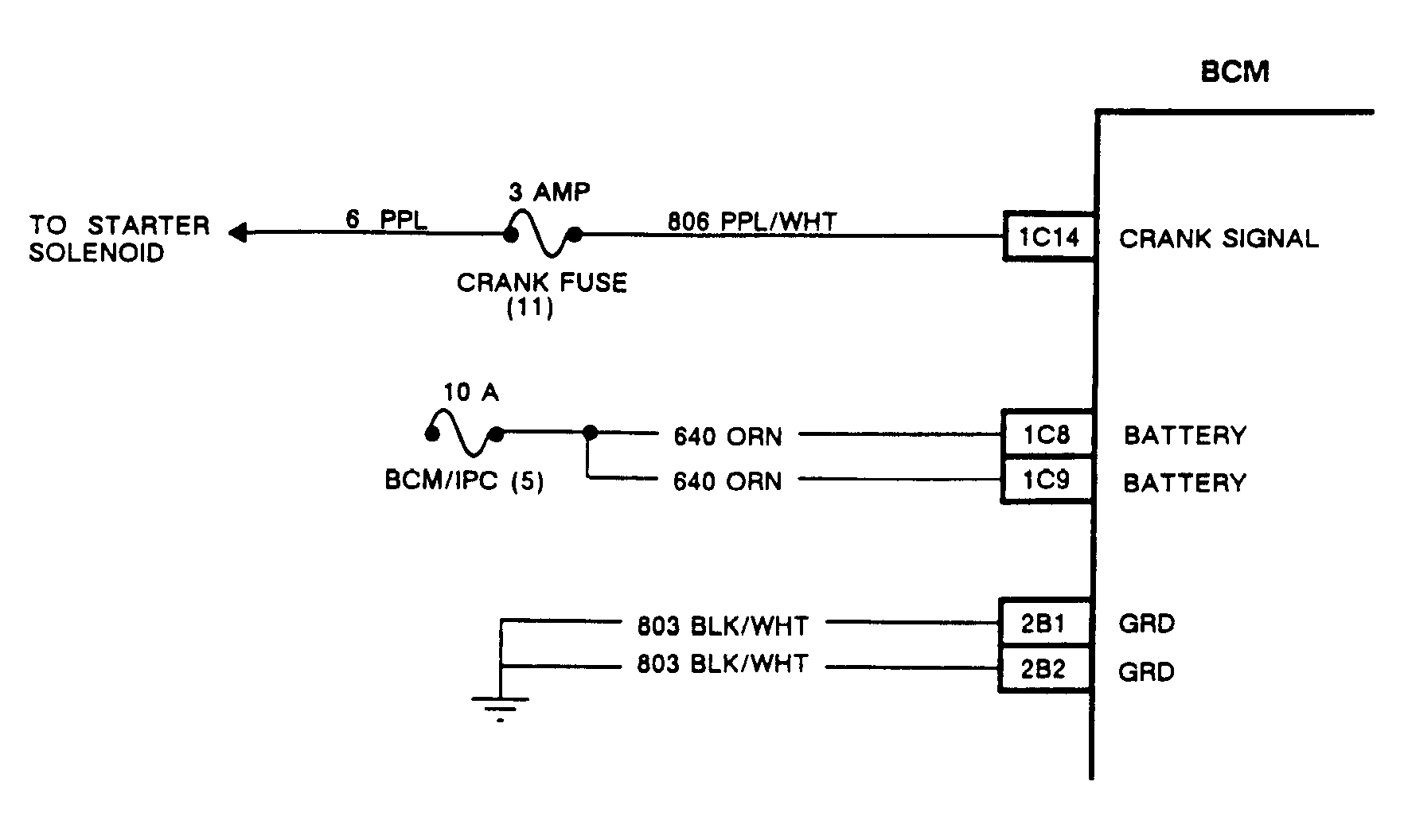
After the above conditions have taken place, code should now be "history", and can be cleared in the normal manner. This code could be set if the system voltage drops to less than 8 volts at BCM terminals No. 1C8 or 1C9. Possible causes for this are faulty charging system, starter system, extreme cold weather and jump starting vehicle.

NOTE: Test numbers refer to numbers on diagnostic chart.
  1. This step is to change Code B552 from "current" to "history".
  2. Checks to see if Code B552 was set due to a fault during cranking mode.
  3. Checks for adequate system voltage at BCM terminals No. 1C8 and 1C9. System voltage must not drop to less than 8 volts during engine cranking. By removing C3I fuse, engine will not start and voltage during engine cranking can be observed.
Fig 1: Code B552, Schematic, BCM Keep Alive Memory Error
G91J11873
Fig 2: Flow Chart, Code B552, BCM Keep Alive Memory Error
GB0022650