LEMON Manuals: Even more car manuals for everyone: 1960-2025
Home >> Buick >> 2000 >> Regal V6-3.8L SC VIN 1 >> Repair and Diagnosis >> Powertrain Management >> Computers and Control Systems >> Relays and Modules - Computers and Control Systems >> Engine Control Module >> Diagrams >> Diagnostic Aids >> Wiring Repairs >> SIR/SRS Wiring Repairs >> SIR/SRS Wire Repair
April 5, 2026: LEMON Manuals is launched! Read the announcement.

SIR/SRS Wire Repair

TOOLS REQUIRED
J38125-B Terminal Repair Kit

IMPORTANT: Refer to Wiring Repairs in Diagrams in order to determine the correct wire size for the circuit you are repairing. You must obtain this information in order to ensure circuit integrity.

If any wire except the pigtail is damaged, repair the wire by splicing in a new section of wire of the same gauge size (0.5 mm, 0.8 mm, 1.0 mm etc.). Use the sealed splices and splice crimping tool from the J 38125-B. Use the following wiring repair procedures in order to ensure the integrity of the sealed splice.

IMPORTANT: You must perform the following procedures in the listed order. Repeat the procedure if any wire strands are damaged. You must obtain a clean strip with all of the wire strands intact.




1. Open the harness by removing any tape:
^ Use a sewing seam ripper (available from sewing supply stores) in order to cut open the harness in order to avoid wire insulation damage.
^ Use the crimp and sealed splice sleeves on all types of insulation except tefzel and coaxial.
^ Do not use the crimp and sealed splice sleeve to form a splice with more than 2 wires coming together.
2. Cut as little wire off the harness as possible. You may need the extra length of wire in order to change the location of a splice.
Adjust splice locations so that each splice is at least 40 mm (1.5 in) away from the other splices, harness branches, or connectors.
3. Strip the insulation:
^ When adding a length of wire to the existing harness, use the same size wire as the original wire.
^ Perform one of the following items in order to find the correct wire size:
- Find the wire on the schematic and convert the metric size to the equivalent AWG size.
- Use an AWG wire gauge.
- If you are unsure of the wire size, begin with the largest opening in the wire stripper and work down until achieving a clean strip of the insulation.
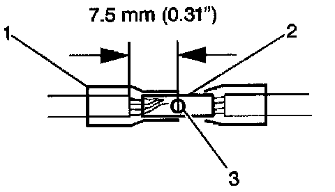
^ Strip approximately 7.5 mm (0.313 in) of insulation from each wire to be spliced.
^ Do not nick or cut any of the strands. Inspect the stripped wire for nicks or cut strands.
^ If the wire is damaged, repeat this procedure after removing the damaged section.
4. Select the proper sealed splice sleeve according to the wire size. Refer to the above table at the beginning of the repair procedure for the color coding of the splice sleeves and the crimp tool nests.




5. Use the Splice Crimp Tool from the J 38125-B in order to position the splice sleeve in the proper color nest of the Splice Crimp Tool.




6. Place the splice sleeve in the nest. Ensure that the crimp falls midway between the end of the barrel and the stop. The sleeve has a stop (3) in the middle of the barrel (2) in order to prevent the wire (1) from going further. Close the hand crimper handles slightly in order to firmly hold the splice sleeve in the proper nest.




7. Insert the wire into the splice sleeve barrel until the wire hits the barrel stop.
8. Tightly close the handles of the crimp tool until the crimper handles open when released.

The crimper handles will not open until you apply the proper amount of pressure to the splice sleeve. Repeat steps 4 and 5 for the opposite end of the splice.




9. Using the heat torch, apply heat to the crimped area of the barrel.
10. Gradually move the heat barrel to the open end of the tubing:
^ The tubing will shrink completely as the heat is moved along the insulation.
^ A small amount of sealant will come out of the end of the tubing when sufficient shrinkage is achieved.