LEMON Manuals: Even more car manuals for everyone: 1960-2025
Home >> Buick >> 2003 >> Century Base >> Repair and Diagnosis >> Transmission >> Automatic Trans >> Shift Lock Control System >> Component Locator >> Automatic Transmission Shift Lock Control Connector End Views
April 5, 2026: LEMON Manuals is launched! Read the announcement.

Automatic Transmission Shift Lock Control Connector End Views

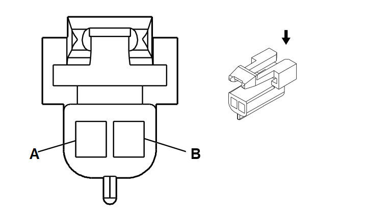
A/T Shift Lock Control Solenoid Connector End Views (Century)

GM280768Courtesy of GENERAL MOTORS CORP.
Connector Part Information
  • 12052832
  • 2-Way F Metri-Pack 150 Series (BLK)
Pin Wire Color Circuit No. Function
A DK GRN/ WHT 1135 A/T Shift Lock Control Solenoid Supply Voltage
B BLK 150 Ground
A/T Shift Lock Control Switch Connector End Views (Regal)

GM40422Courtesy of GENERAL MOTORS CORP.
Connector Part Information
  • 12064762
  • 6-Way F Metri-Pack 150 Series (GRY)
Pin Wire Color Circuit No. Function
A ORN/BLK 434 Neutral Safety Switch Signal
B PNK 1439 Ignition 1 Voltage
C LT BLU 1134 Ignition Lock Cylinder Control Actuator Signal
D - - Not Used
E DK GRN/WHT 1135 A/T Shift Lock Control Solenoid Supply Voltage
F PPL 1600 Ignition 0 Voltage
Brake to Shift Relay Connector End Views

GM309518Courtesy of GENERAL MOTORS CORP.
Connector Part Information
  • 12129715
  • 6-Way F Metri-Pack 280 Series Flexlock (MD GRY)
Pin Wire Color Circuit No. Function
A1 PNK 1439 Ignition 1 Voltage
PNK 1439 Ignition 1 Voltage (Regal)
A2 ORN/BLK 434 Neutral Safety Switch Signal
B1-B2 - - Not Used
C1 BLK 1550 Ground
C2 TAN/WHT 816 A/T Shift Lock Solenoid Supply Voltage