LEMON Manuals: Even more car manuals for everyone: 1960-2025
Home >> Buick >> 2003 >> Century Custom >> Repair and Diagnosis >> External Pages >> Different car >> Section 420 (Lighting Systems) >> Component Locator >> Lighting Systems Connector End Views
April 5, 2026: LEMON Manuals is launched! Read the announcement.

Lighting Systems Connector End Views

WARNING: This page is about a different car, the 2004 Buick Regal and 2004 Buick Century. However, it is still accessible from the selected car via links, so may be relevant.
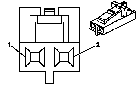
Ambient Light Sensor Terminal Identification

GM82383Courtesy of GENERAL MOTORS CORP.
Connector Part Information
  • 12047662
  • 2-Way F Metri-Pack 150 Series (BLK)
Pin Wire Color Circuit No. Function
A YEL/BLK 1138 DRL Ambient Light Sensor Signal
B LT GRN/
BLK
1137 DRL Ambient Light Sensor Low Reference
Automatic Headlamp Relay Terminal Identification

GM309518Courtesy of GENERAL MOTORS CORP.
Connector Part Information
  • 12129715
  • 6-Way F Metri-Pack 280 Flexlock (GRY)
Pin Wire Color Circuit No. Function
A1 ORN 1340 Battery Positive Voltage
A2 YEL 10 Headlamp Switch Signal
B1-B2 - - Not Used
C1 BLK 1750 Ground
C2 WHT 103 Automatic Headlamp Relay Control
Backup Lamp Terminal Identification - Left

GM871665Courtesy of GENERAL MOTORS CORP.
Connector Part Information
  • 12160386
  • 2-Way F Lamp Socket B1 Base Assembly, Right Angle (GRY)
Pin Wire Color Circuit Number Function
A LT GRN 24 Backup Lamp Supply Voltage
G BLK 350 Ground
Backup Lamp Terminal Identification - Right

GM871665Courtesy of GENERAL MOTORS CORP.
Connector Part Information
  • 12160386
  • 2-Way F Lamp socket B1 Base Assembly, Right Angle (GRY)
Pin Wire Color Circuit Number Function
A LT GRN 24 Backup Lamp Supply Voltage
G BLK 350 Ground
Backup Lamp Relay Terminal Identification

GM309518Courtesy of GENERAL MOTORS CORP.
Connector Part Information
  • 12129715
  • 6-Way F Metri-Pack 280 Series Flex Lock (GRY)
Pin Wire Color Circuit No. Function
A1 DK BLU 38 Backup Lamp Relay Control
A2 LT GRN 24 Backup Lamp Supply Voltage
B1-B2 - - Not Used
C1 ORN/BLK 840 Battery Positive Voltage
C2 ORN 840 Battery Positive Voltage
Cornering/Marker Lamp Terminal Identification - Left

GM333035Courtesy of GENERAL MOTORS CORP.
Connector Part Information
  • 12047781
  • 3-Way F M/P 150 Series (BLK)
Pin Wire Color Circuit Number Function
A ORN - Left Cornering Lamp Supply Voltage
B WHT - Marker Lamp Supply Voltage
C BLK - Ground
Cornering/Marker Lamp Terminal Identification - Right

GM333035Courtesy of GENERAL MOTORS CORP.
Connector Part Information
  • 12047781
  • 3-Way F M/P 150 Series (BLK)
Pin Wire Color Circuit Number Function
A ORN - Right Cornering Lamp Supply Voltage
B WHT - Marker Lamp Supply Voltage
C BLK - Ground
Courtesy Lamp Terminal Identification - Left

GM407137Courtesy of GENERAL MOTORS CORP.
Connector Part Information
  • 12162711
  • 2-Way Lamp Socket Wedge Base (BLK)
Pin Wire Color Circuit No. Function
A ORN 1732 Courtesy Lamps Supply Voltage
B WHT 156 Courtesy Lamp Low Control
Courtesy Lamp Terminal Identification - Right

GM407137Courtesy of GENERAL MOTORS CORP.
Connector Part Information
  • 12162711
  • 2-Way Lamp Socket Wedge Base (BLK)
Pin Wire Color Circuit No. Function
A ORN 1732 Courtesy Lamps Supply Voltage
B WHT 156 Courtesy Lamp Low Control
Dome Lamp Terminal Identification (W/O CF5, W/O C79)

GM82383Courtesy of GENERAL MOTORS CORP.
Connector Part Information
  • 12047662
  • 2-Way F Metri-Pack 150 Series (BLK)
Pin Wire Color Circuit No. Function
A ORN 1732 Courtesy Lamps Supply Voltage
B WHT 156 Courtesy Lamp Low Control
Fog Lamp Terminal Identification - LF (Regal)

GM646148Courtesy of GENERAL MOTORS CORP.
Connector Part Information
  • 12020599
  • 2-Way F Metri-Pack 280 Series Sealed (BLK)
Pin Wire Color Circuit No. Function
A PPL/WHT 34 Fog Lamps Supply Voltage
B BLK 1350 Ground
Fog Lamp Terminal Identification - RF (Regal)

GM646148Courtesy of GENERAL MOTORS CORP.
Connector Part Information
  • 12020599
  • 2-Way F Metri-Pack 280 Series Sealed (BLK)
Pin Wire Color Circuit No. Function
A PPL 34 Fog Lamps Supply Voltage
B BLK 1350 Ground
Fog Lamp Switch Terminal Identification (Regal)

GM258245Courtesy of GENERAL MOTORS CORP.
Connector Part Information
  • 12065872
  • 7-Way F Mirco-Pack 100 Series (GRY)
Pin Wire Color Circuit No. Function
1 - - Not Used
2 BLK 1750 Ground
3 PPL 34 Front Fog Lamps Supply Voltage
4 ORN 192 Fog Lamps Enable
5 GRY 8 Instrument Panel Lamps Dimmer Switch Signal
6 - - Not Used
7 DK GRN/
WHT
1317 Fog Lamp Relay Control
Headlamp Terminal Identification - High Beam - Left

GM1232375Courtesy of GENERAL MOTORS CORP.
Connector Part Information
  • 699707-1 (AMP)
  • 2-Way F Position Receptacle Housing (BLK)
  • Indexing May Vary
Pin Wire Color Circuit Number Function
A GRN - Battery Positive Voltage
B YEL - Headlamp High Beam Signal
Headlamp Terminal Identification - High Beam - Right

GM1232375Courtesy of GENERAL MOTORS CORP.
Connector Part Information
  • 699707-1 (AMP)
  • 2-Way F Position Receptacle Housing (BLK)
  • Indexing May Vary
Pin Wire Color Circuit Number Function
A GRN - Battery Positive Voltage
B YEL - Headlamp High Beam Signal
Headlamp Terminal Identification - Low Beam - Left

GM1232370Courtesy of GENERAL MOTORS CORP.
Connector Part Information
  • 699707-2 (AMP)
  • 2-Way F Position Receptacle Housing (WHT)
  • Indexing May Vary
Pin Wire Color Circuit Number Function
A RED - Battery Positive Voltage
B BLU - Headlamp Low Beam Signal
Headlamp Terminal Identification - Low Beam - Right

GM1232370Courtesy of GENERAL MOTORS CORP.
Connector Part Information
  • 699707-2 (AMP)
  • 2-Way F Position Receptacle Housing (WHT)
  • Indexing May Vary
Pin Wire Color Circuit Number Function
A RED - Battery Positive Voltage
B BLU - Headlamp Low Beam Signal
Headlamp Switch Terminal Identification

GM283847Courtesy of GENERAL MOTORS CORP.
Connector Part Information
  • 12129431
  • 16-Way F ACT 280 Series (BLK)
Pin Wire Color Circuit No. Function
A BLK/WHT 1750 Ground
B-C - - Not Used
D YEL 10 Headlamp Switch Signal
E ORN 1340 Battery Positive Voltage
F LT BLU 1872 Exterior Lamps OFF Input
G LT BLU 74 Park Lamp Switch Signal
H - - Not Used
J GRY 8 Instrument Panel Lamps Dimmer Switch Signal
K-L - - Not Used
M DK BLU/
WHT
1495 Courtesy Lamp Control
N BLK 1750 Ground
P BLK 1750 Ground
R GRY 8 Instrument Panel Lamps Dimmer Switch Signal
S YEL 32 Instrument Panel Lamp Fuse Supply Voltage-1
I/P Compartment Lamp/Switch Terminal Identification

GM82383Courtesy of GENERAL MOTORS CORP.
Connector Part Information
  • 12047662

    TPA 15324070

  • 2-Way F Metri-Pack 150 Series (BLK)
Pin Wire Color Circuit Number Function
A ORN 1732 Courtesy Lamps Supply Voltage
B BLK 1450 Ground
License Lamp Terminal Identification - Left

GM744036Courtesy of GENERAL MOTORS CORP.
Connector Part Information
  • 12110053
  • 2-Way F Lamp Socket Wedge Base Assembly (LT GRY)
  • Indexing may vary
Pin Wire Color Circuit Number Function
A BRN/WHT 301 Rear Park Lamps Supply Voltage
B BLK 350 Ground
License Lamp Terminal Identification - Right

GM744036Courtesy of GENERAL MOTORS CORP.
Connector Part Information
  • 12110053
  • 2-Way F Lamp Socket Wedge Base Assembly (LT GRY)
  • Indexing may vary
Pin Wire Color Circuit Number Function
A BRN/WHT 301 Rear Park Lamps Supply Voltage
B BLK 350 Ground
Marker Lamp Terminal Identification - LR

GM744036Courtesy of GENERAL MOTORS CORP.
Connector Part Information
  • 12110053
  • 2-Way F Lamp Socket Wedge Base Assembly (LT GRY)
Pin Wire Color Circuit Number Function
A BRN/WHT 301 Rear Park Lamps Supply Voltage
B BLK 350 Ground
Marker Lamp Terminal Identification - RR

GM744036Courtesy of GENERAL MOTORS CORP.
Connector Part Information
  • 12110053
  • 2-Way F Lamp Socket Wedge Base Assembly (LT GRY)
Pin Wire Color Circuit Number Function
A BRN/WHT 301 Rear Park Lamps Supply Voltage
B BLK 350 Ground
Park Lamp Relay Terminal Identification

GM309518Courtesy of GENERAL MOTORS CORP.
Connector Part Information
  • 12129715
  • 6-Way F Metri-Pack 280 Flexlock (GRY)
Pin Wire Color Circuit No. Function
A1 ORN 1340 Battery Positive Voltage
A2 ORN 1340 Battery Positive Voltage
B1-B2 - - Not Used
C1 LT BLU 74 Park Lamp Switch Signal
C2 GRY/BLK 308 Park Lamp Relay Control
Park/Turn Signal Lamp Terminal Identification - LF

GM333035Courtesy of GENERAL MOTORS CORP.
Connector Part Information
  • 12047781
  • 3-Way F M/P 150 Series (BLK)
Pin Wire Color Circuit Number Function
A WHT/BLU - Left Turn Signal Lamps/DRL Supply Voltage
B PPL - Park Lamp Supply Voltage
C BLK - Ground
Park/Turn Signal Lamp Terminal Identification - RF

GM333035Courtesy of GENERAL MOTORS CORP.
Connector Part Information
  • 12047781
  • 3-Way F M/P 150 Series (BLK)
Pin Wire Color Circuit Number Function
A WHT/BLU - Right Turn Signal Lamps/DRL Supply Voltage
B PPL - Park Lamp Supply Voltage
C BLK - Ground
Rear Compartment Courtesy Lamp Terminal Identification

GM387544Courtesy of GENERAL MOTORS CORP.
Connector Part Information
  • 12124652
  • 2-Way F LP SOC WGE BSE W2 (CLR)
Pin Wire Color Circuit No. Function
A ORN 1732 Courtesy Lamps Supply Voltage
B ORN/BLK 737 Trunk Ajar Switch Signal
Roof Rail Courtesy/Reading Lamp Terminal Identification - Left (C79)

GM333035Courtesy of GENERAL MOTORS CORP.
Connector Part Information
  • 12047781
  • 3-Way F Metri-Pack 150 Series (BLK)
Pin Wire Color Circuit No. Function
A WHT 156 Courtesy Lamp Low Control
B BLK 850 Ground
C ORN 1732 Courtesy Lamps Supply Voltage
Roof Rail Courtesy/Reading Lamp Terminal Identification - Right (C79)

GM333035Courtesy of GENERAL MOTORS CORP.
Connector Part Information
  • 12047781
  • 3-Way F Metri-Pack 150 Series (BLK)
Pin Wire Color Circuit No. Function
A WHT 156 Courtesy Lamp Low Control
B BLK 850 Ground
C ORN 1732 Courtesy Lamps Supply Voltage
Stop Lamp Switch Terminal Identification, C1

GM73251Courtesy of GENERAL MOTORS CORP.
Connector Part Information
  • 12033701
  • 2-Way F Metri-Pack 480 Series (GRY)
Pin Wire Color Circuit No. Function
A ORN 140 Battery Positive Voltage
B WHT 17 Stop Lamp Switch Signal
Stop Lamp Switch Terminal Identification, C2

GM40397Courtesy of GENERAL MOTORS CORP.
Connector Part Information
  • 12033706
  • 4-Way F Metri-Pack 280 Series (BLU)
Pin Wire Color Circuit No. Function
A PNK 1439 Ignition 1 Voltage
B DK GRN/
WHT
1135 A/T Shift Lock Control Solenoid Supply Voltage
C PNK 339 Ignition 1 Voltage
D PPL 420 TCC Brake Switch/Cruise Control Release Signal
Tail Lamp Terminal Identification - LR

GM744036Courtesy of GENERAL MOTORS CORP.
Connector Part Information
  • 12110053
  • 2-Way F Lamp Socket Wedge Base Assembly (LT GRY)
  • Indexing may vary
Pin Wire Color Circuit Number Function
A BRN/WHT 301 Rear Park Lamps Supply Voltage
B BLK 350 Ground
Tail Lamp Terminal Identification - RR

GM744036Courtesy of GENERAL MOTORS CORP.
Connector Part Information
  • 12110053
  • 2-Way F Lamp Socket Wedge Base Assembly (LT GRY)
  • Indexing may vary
Pin Wire Color Circuit Number Function
A BRN/WHT 301 Rear Park Lamps Supply Voltage
B BLK 350 Ground
Tail/Stop and Turn Signal Lamp Terminal Identification - Left

GM38605Courtesy of GENERAL MOTORS CORP.
Connector Part Information
  • 12160394
  • 3-Way F Lamp Socket Wedge Base, Right Angled, Sealed (NAT)
Pin Wire Color Circuit Number Function
A DK GRN 18 Left Rear Stop/Turn Lamp Supply Voltage
B BRN/WHT 301 Rear Park Lamps Supply Voltage
G BLK 250 Ground
Tail/Stop and Turn Signal Lamp Terminal Identification - Right

GM38605Courtesy of GENERAL MOTORS CORP.
Connector Part Information
  • 12160394
  • 3-Way F Lamp Socket Wedge Base, Right Angled, Sealed (NAT)
Pin Wire Color Circuit Number Function
A DK GRN 19 Right Rear Stop/Turn Lamp Supply Voltage
B BRN/WHT 301 Rear Park Lamps Supply Voltage
G BLK 350 Ground
Turn Signal/Hazard Flasher Module Terminal Identification

GM281201Courtesy of GENERAL MOTORS CORP.
Connector Part Information
  • 12110541
  • 6-Way F Metri-Pack 280 Series Flexlock (BLK)
Pin Wire Color Circuit No. Function
A1 LT BLU 1508 Turn/Hazard Module Supply Voltage
LT BLU 1508 Turn/Hazard Module Supply Voltage
A2 - - Not Used
B1 - - Not Used
B2 BLK 1750 Ground
C1 PPL 16 Turn Signal Flasher Signal
C2 - - Not Used
Vanity Mirror Lamp Terminal Identification - Left (DH6)

GM523637Courtesy of GENERAL MOTORS CORP.
Connector Part Information
  • 12162486
  • 2-Way F 2.54 mm Pitch SL Crimp Housing - Single Row, Positive Latch (BLK)
Pin Wire Color Circuit No. Function
1 ORN 1732 Courtesy Lamps Supply Voltage
2 BLK 850 Ground
Vanity Mirror Lamp Terminal Identification - Right (DH6)

GM523637Courtesy of GENERAL MOTORS CORP.
Connector Part Information
  • 12162486
  • 2-Way F 2.54 mm Pitch SL Crimp Housing - Single Row, Positive Latch (BLK)
Pin Wire Color Circuit No. Function
1 ORN 1732 Courtesy Lamps Supply Voltage
2 BLK 850 Ground