LEMON Manuals: Even more car manuals for everyone: 1960-2025
Home >> Buick >> 2005 >> Century Custom >> Repair and Diagnosis >> External Pages >> Different car >> Section 14 (Cruise Control System) >> Repair Instructions >> Cruise Control Module Replacement >> Installation Procedure
April 5, 2026: LEMON Manuals is launched! Read the announcement.

Installation Procedure

WARNING: This page is about a different car, the 2004 Buick Regal and 2004 Buick Century. However, it is still accessible from the selected car via links, so may be relevant.
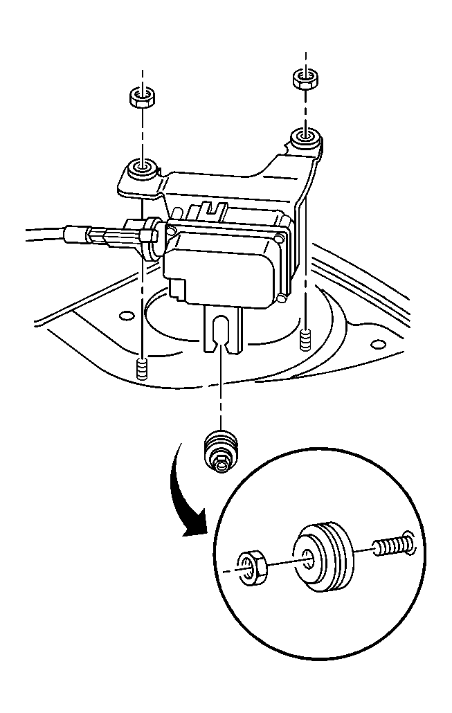
  1. Install the cruise control module on the shock tower mounting studs.
  2. NOTE: Refer to Fastener Notice in Cautions and Notices.
  3. Install the cruise control module retaining nuts.

    Tighten:  Tighten the cruise control module to shock tower nuts to 2 N.m (18 lb in).

  4. Fig 1: Cruise Control Module Retaining Nuts At Shock Tower
    GM294525Courtesy of GENERAL MOTORS CORP.
  5. Connect the electrical connector to the cruise control module.
  6. Install the cruise control cable to the cruise control module. Refer to Cruise Control Cable Replacement (3.1L)  or Cruise Control Cable Replacement (3.8L) .
  7. Fig 2: Cruise Control Cable At Cruise Control Module
    GM294519Courtesy of GENERAL MOTORS CORP.