LEMON Manuals: Even more car manuals for everyone: 1960-2025
Home >> Buick >> 2007 >> Rainier AWD V8-5.3L >> Repair and Diagnosis >> Powertrain Management >> Computers and Control Systems >> Relays and Modules - Computers and Control Systems >> Engine Control Module >> Diagrams >> Connector Views
April 5, 2026: LEMON Manuals is launched! Read the announcement.

Connector Views



Engine Control Module Connector End Views

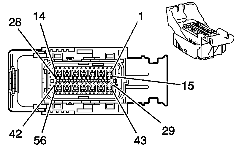
Engine Control Module (ECM) C1









Engine Control Module (ECM) C1 (Pin 1 To 15):





Engine Control Module (ECM) C1 (Pin 16 To 56):






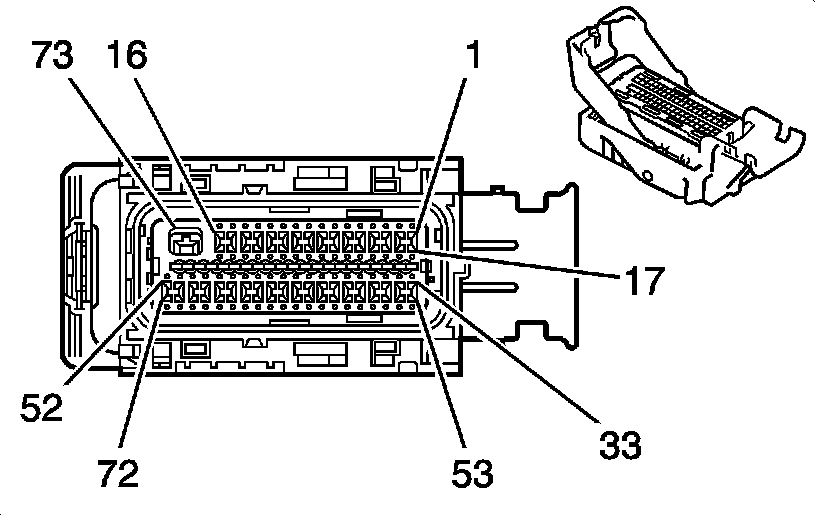
Engine Control Module (ECM) C2









Engine Control Module (ECM) C2 (Pin 1 To 10):





Engine Control Module (ECM) C2 (Pin 11 To 54):





Engine Control Module (ECM) C2 (Pin 55 To 73):






Engine Control Module (ECM) C3









Engine Control Module (ECM) C3 (Pin 1 To 15):





Engine Control Module (ECM) C3 (Pin 16 To 59):





Engine Control Module (ECM) C3 (Pin 60 To 73):