LEMON Manuals: Even more car manuals for everyone: 1960-2025
Home >> Buick >> 2007 >> Rendezvous V6-3.5L >> Repair and Diagnosis >> Powertrain Management >> Computers and Control Systems >> Engine Control Module >> Diagrams >> Connector Views
April 5, 2026: LEMON Manuals is launched! Read the announcement.

Connector Views



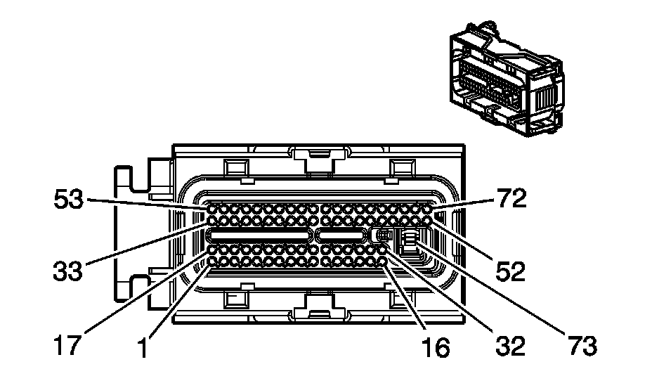
Powertrain Control Module Connector End Views

Powertrain Control Module (PCM) C1














Powertrain Control Module (PCM) C2









Powertrain Control Module (PCM) C2 (Pin 1 To 32):





Powertrain Control Module (PCM) C2 (Pin 33 To 73):






Powertrain Control Module (PCM) C3