LEMON Manuals: Even more car manuals for everyone: 1960-2025
Home >> Buick >> 2011 >> Lucerne CX >> Repair and Diagnosis >> External Pages >> Different car >> Section 249 (Lighting System) >> Repair Instructions >> Transmission Control Position Indicator Bulb Replacement >> Installation Procedure
April 5, 2026: LEMON Manuals is launched! Read the announcement.

Installation Procedure

WARNING: This page is about a different car, the 2011 Cadillac DTS. However, it is still accessible from the selected car via links, so may be relevant.
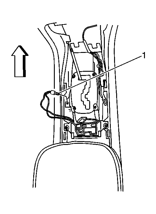
    Fig 1: View of Shift Indicator Lamp
    GM689737Courtesy of GENERAL MOTORS COMPANY
  1. Install the shift indicator lamp (1) to the lamp socket.
  2. Install the lamp and socket to the shifter assembly.
  3. Rotate the shift indicator lamp socket clockwise.
  4. Install the console center trim plate. Refer to Front Floor Console Trim Plate Replacement .