LEMON Manuals: Even more car manuals for everyone: 1960-2025
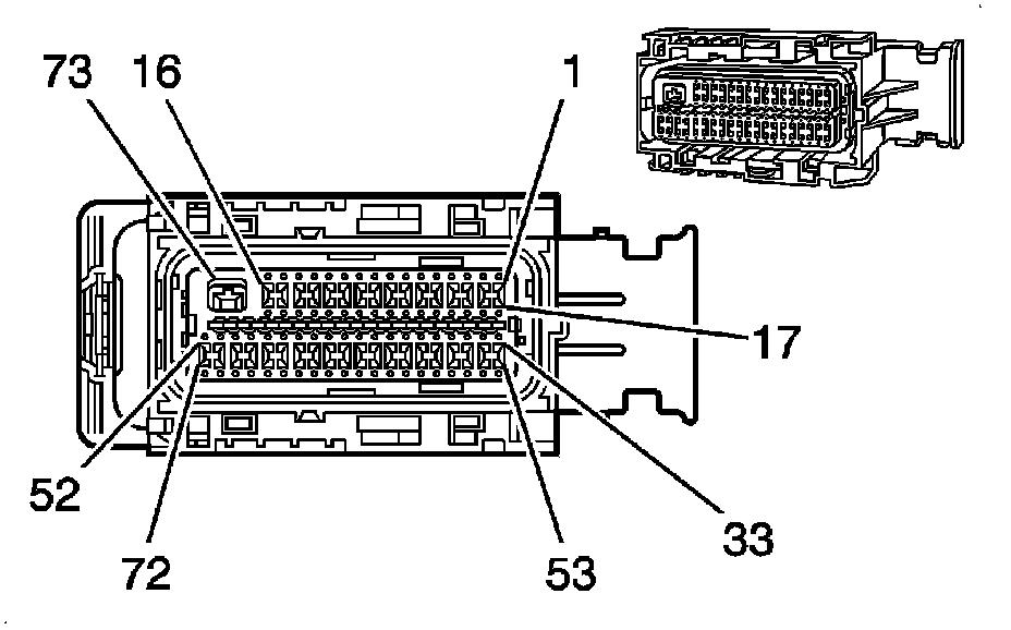
Home >> Buick >> 2012 >> Regal L4-2.4L >> Repair and Diagnosis >> Powertrain Management >> Relays and Modules - Powertrain Management >> Relays and Modules - Computers and Control Systems >> Engine Control Module >> Diagrams >> Engine Control Module X2 (LEA without NU6)
April 5, 2026: LEMON Manuals is launched! Read the announcement.

Engine Control Module X2 (LEA without NU6)




Component Connector End Views

K20 Engine Control Module X2 (LEA without NU6)