LEMON Manuals: Even more car manuals for everyone: 1960-2025
Home >> Buick >> 2013 >> Verano L4-2.4L >> Repair and Diagnosis >> Diagrams >> Connector Views >> Connector End Views By Name >> Engine Control Module X2
April 5, 2026: LEMON Manuals is launched! Read the announcement.

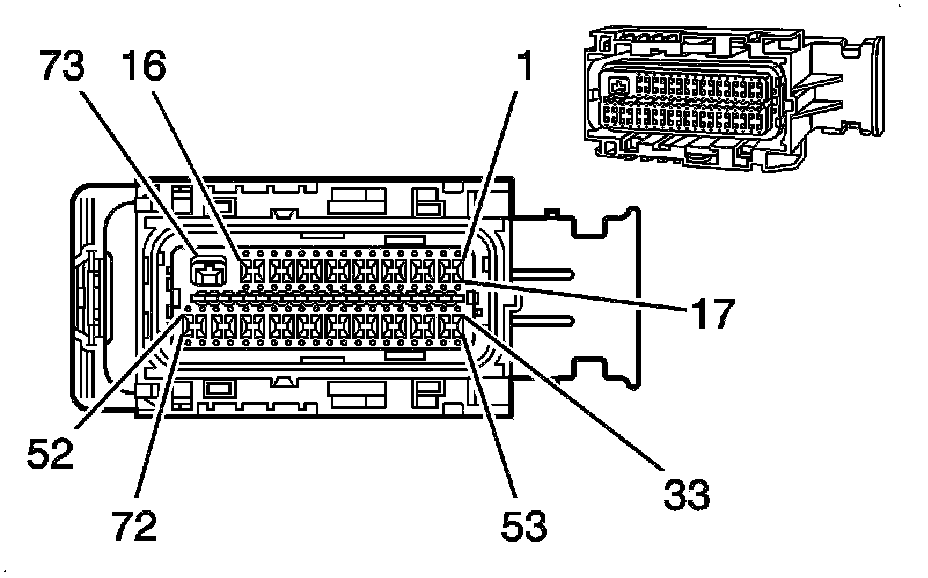
Engine Control Module X2




Component Connector End Views

K20 Engine Control Module X2