LEMON Manuals: Even more car manuals for everyone: 1960-2025
Home >> Buick >> 2016 >> Cascada Base >> Repair and Diagnosis >> External Pages >> Different car >> Section 101 (Sunroof System) >> Repair Instructions >> Sunroof Module Assembly Replacement
April 5, 2026: LEMON Manuals is launched! Read the announcement.

Sunroof Module Assembly Replacement

WARNING: This page is about a different car, the 2016 Chevrolet Malibu Limited. However, it is still accessible from the selected car via links, so may be relevant.
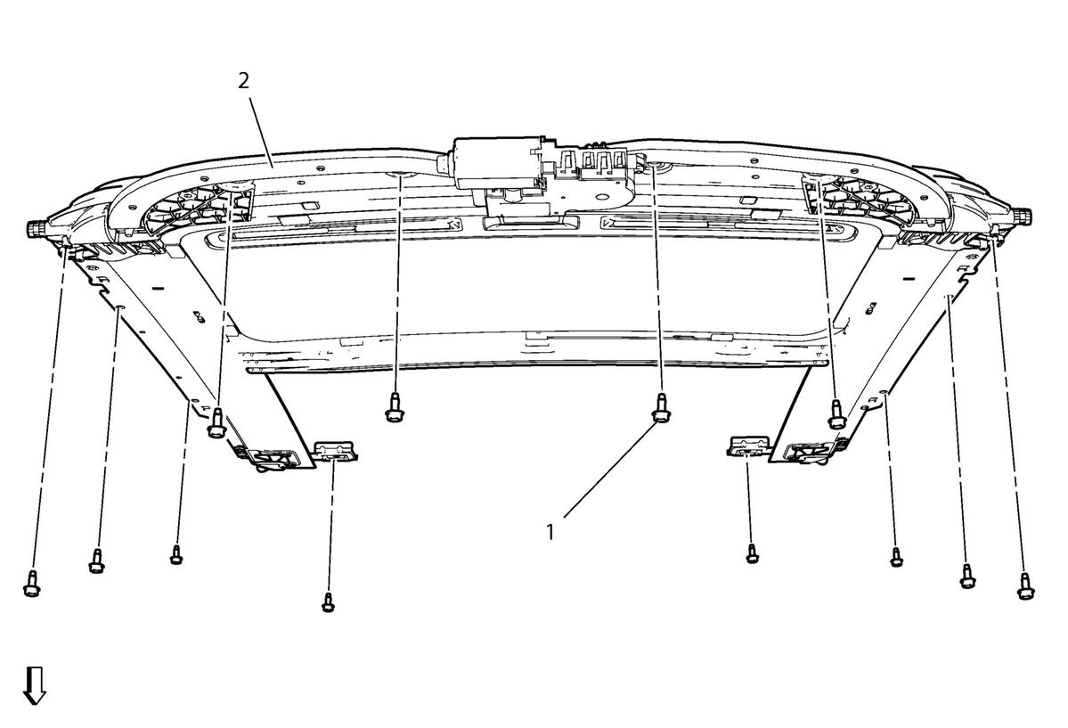
Fig 1: Sunroof Module assembly
GM2027888Courtesy of GENERAL MOTORS COMPANY
Callout Component Name
Preliminary Procedures 
Remove the headlining trim panel. Refer to Headlining Trim Panel Replacement (Without Sunroof) and Headlining Trim Panel Replacement (With Sunroof)
1 Sunroof Module Bolt (Qty: 12)
CAUTION: Refer to Fastener Caution .

Procedure

  1. Disconnect the electrical connector from the motor.
  2. Disconnect the drain hoses from the sunroof module assembly.

Tighten 
9 N.m (80 lb in)
2 Sunroof Module Assembly
Procedure 
A new sunroof module assembly does not include the sunroof window, the motor, the sunshade or the finishing lace as components. You must install the old components to the new sunroof module assembly.