LEMON Manuals: Even more car manuals for everyone: 1960-2025
Home >> Buick >> 2019 >> Envision Base >> Repair and Diagnosis >> External Pages >> Different car >> Section 45 (Component Connector End Views (A3L-B174G)) >> Component Connector End Views >> B70 Liftgate Close Switch (TC2)
April 5, 2026: LEMON Manuals is launched! Read the announcement.

B70 Liftgate Close Switch (TC2)

WARNING: This page is about a different car, the 2018 Buick Envision. However, it is still accessible from the selected car via links, so may be relevant.
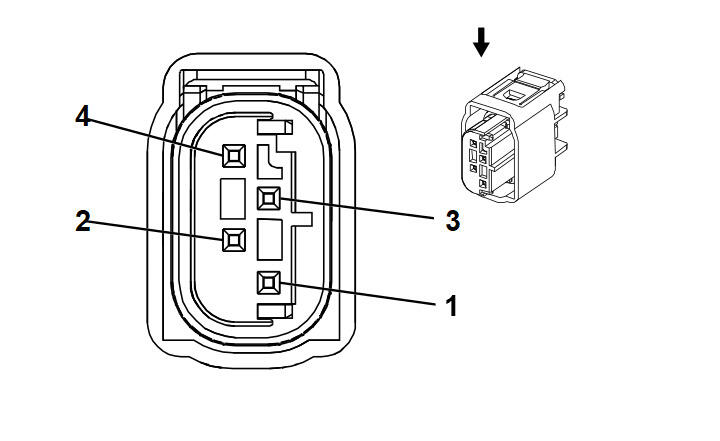
GM2173574Courtesy of GENERAL MOTORS COMPANY
Connector Part Information
  • Harness Type: Liftgate
  • OEM Connector: 90484986
  • Service Connector: Service by Harness - See Part Catalog
  • Description: 4-Way F 0.64 Micro-Quadlock Series, Sealed (BK)
Terminal Part Information

Terminal Type ID Terminated Lead Diagnostic Test Probe Terminal Removal Tool Service Terminal Tray Name Core Crimp Insulation Crimp
I Not Required J-35616-64B (LT BU) No Tool Required Not Required Not Required Not Required Not Required
Pin Size Color Circuit Function Terminal Type ID Option
1 0.35 BK 2550 Ground I -
2 0.35 GY/WH 3034 Lift Gate Shut Face Switch LED Control I -
3 0.35 GN 3033 Lift Gate Shut Face Switch Signal I -
4 0.35 BK/VT 5801 Lift Gate Object Sensor Low Reference I -