LEMON Manuals: Even more car manuals for everyone: 1960-2025
Home >> Cadillac >> 1991 >> Allante F7/ME9 >> Repair and Diagnosis >> Engine Performance >> System >> Engine Controls - System & Component Testing >> Ignition Systems >> Ignition System Components >> Module
April 5, 2026: LEMON Manuals is launched! Read the announcement.

Ignition System Components: Module

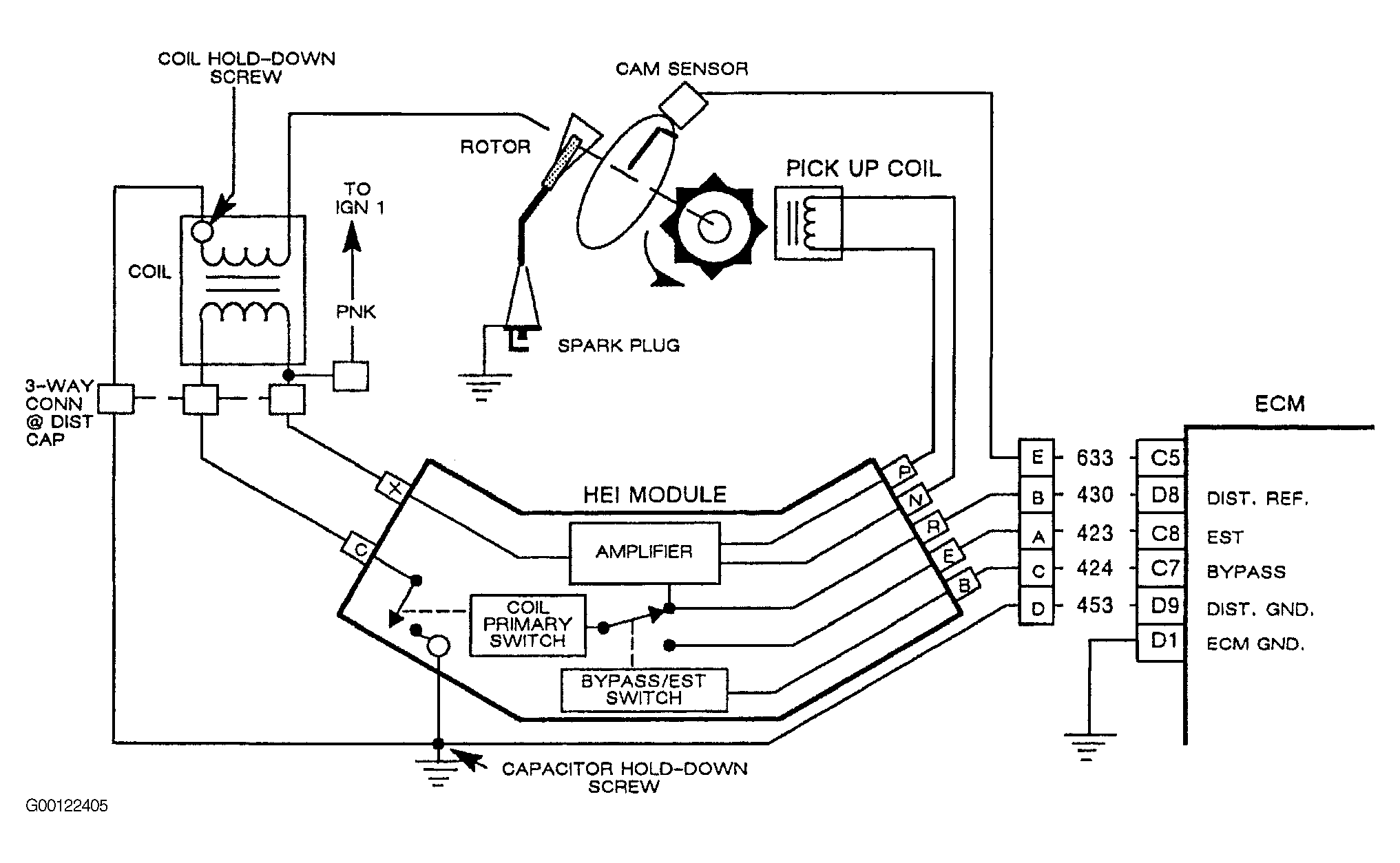
The EST system consists of distributor module, ECM, and connecting wires. The distributor has four wires that connect HEI module to ECM. The connector terminals are lettered as shown. See Fig 1 . These circuits perform following functions:

  1. Distributor reference Hi- (Circuit 430)

    This is a 5 volt square wave signal that originates at terminal pin R of the HEI module and is input at terminal D8 of the PCM. This signal provides crank shaft position to the PCM.
  2. Reference ground - (Circuit 453)

    This is the ground circuit for the distributor reference signal. This is the low voltage reference for the distributor reference signal. High resistance or an open in this circuit will prevent the PCM from receiving a clean signal from the HEI module.
  3. Bypass - (Circuit 424)

    This is a 5 volt signal that originates at PCM terminal C7 and is input at the HEI module terminal pin B. This signal switches the HEI module from module control of the ignition coil primary to PCM control to the ignition coil primary.
  4. EST - (Circuit 423)

    This is a 5 volt square wave signal that originates at terminal C8 of the PCM and is input at terminal pin E of the HEI module. The circuit triggers the HEI module when the PCM is controlling spark timing. The PCM does not know what the actual timing is, but it does know when it gets a reference signal. It uses the reference as a base point and advances or retards the spark from that point. Therefore, if the base timing is set incorrectly, the entire spark curve will be incorrect by the amount that the timing is misadjusted.
  5. CAM Position - (Circuit 633)

    This is a 5 volt signal that originates at the cam sensor and provides the PCM with information to determine when the intake valve on number one cylinder will open. The cam sensor is a hall effect type sensor. The PCM sequences the injectors in cylinder firing order based on the input from this sensor.
Fig 1: Identifying Electronic Spark Timing Circuits
G00122405Courtesy of GENERAL MOTORS CORP.