LEMON Manuals: Even more car manuals for everyone: 1960-2025
Home >> Cadillac >> 2003 >> Escalade EXT >> Repair and Diagnosis >> External Pages >> Different car >> Section 466 (Lighting Systems (Introduction)) >> Component Locator >> Lighting Systems Component Views
April 5, 2026: LEMON Manuals is launched! Read the announcement.

Lighting Systems Component Views

WARNING: This page does not describe the selected car, but rather 8 other vehicles, including the 2004 GMC Yukon XL, 2004 GMC Yukon, 2004 Chevrolet Tahoe, 2004 Chevrolet Suburban, and 2004 Chevrolet Avalanche. However, it is still accessible from the selected car via links, so may be relevant.
Fig 1: Hood Component View
GM310026Courtesy of GENERAL MOTORS CORP.
Callout Component Name
1 Hood
2 Hood Reinforcement
3 Underhood Lamp Assembly Electrical Connector
4 Underhood Lamp Assembly
4 Underhood Lamp Assembly
Fig 2: LF Corner Of Bumper Component View
GM350006Courtesy of GENERAL MOTORS CORP.
Callout Component Name
1 Bumper
2 Fog Lamp - LF
3 Air Deflector
4 Fog Lamp - LF Connector
5 Fog Lamp Harness
6 Fog Lamp Bracket (Part of Fog Lamp)
Fig 3: RF Corner Of Vehicle - Lighting Components View
GM310805Courtesy of GENERAL MOTORS CORP.
Callout Component Name
1 Upper Radiator Support - Tie Bar
2 Headlamp-Low Beam - Right
3 Snowplow - Option - Connector C127
4 Park/Turn Signal Lamp - RF
5 Park/Turn Signal Socket - RF
6 Park/Turn Signal Lens - RF
7 Marker Lamp Socket - RH
8 Daytime Running Lamp (DRL) Socket - RH
9 DRL Lamp - RH
10 DRL Lens - RH
11 Headlamp Assembly - Right
12 Headlamp-High Beam - Right
Fig 4: LF Corner Of Vehicle - Lighting Components View
GM310802Courtesy of GENERAL MOTORS CORP.
Callout Component Name
1 Upper Radiator Support - Tie Bar
2 Headlamp Assembly-LF
3 Headlamp-High Beam Connector-LF
4 Daytime Running Lamp (DRL)-LF
5 DRL Socket-LF
6 Windshield Washer Reservoir
7 Park/Turn Signal Lamp Socket-LF
8 Marker Socket-LF
9 Marker Lamp-LF
10 Park/Turn Signal Lamp-LF
11 Snowplow - Option - Connector C125
12 Headlamp-Low Beam Connector-LF
13 Marker Lens-LF
Fig 5: RF Headlamp Assembly Component View (Escalade - LF Similar)
GM1284799Courtesy of GENERAL MOTORS CORP.
Callout Component Name
1 Headlamp Assembly
2 Fender
3 Headlamp Support Housing
4 Headlamp Assembly Connector
5 HID Headlamp Ballast
6 Radiator Upper Air Baffle
Fig 6: Roof Marker & Clearance Lamps Component View
GM762107Courtesy of GENERAL MOTORS CORP.
Callout Component Name
1 Roof Marker Lamp and Harness - Right
2 Roof Marker Lamp and Harness - Left
3 Clearance Lamps and Harness
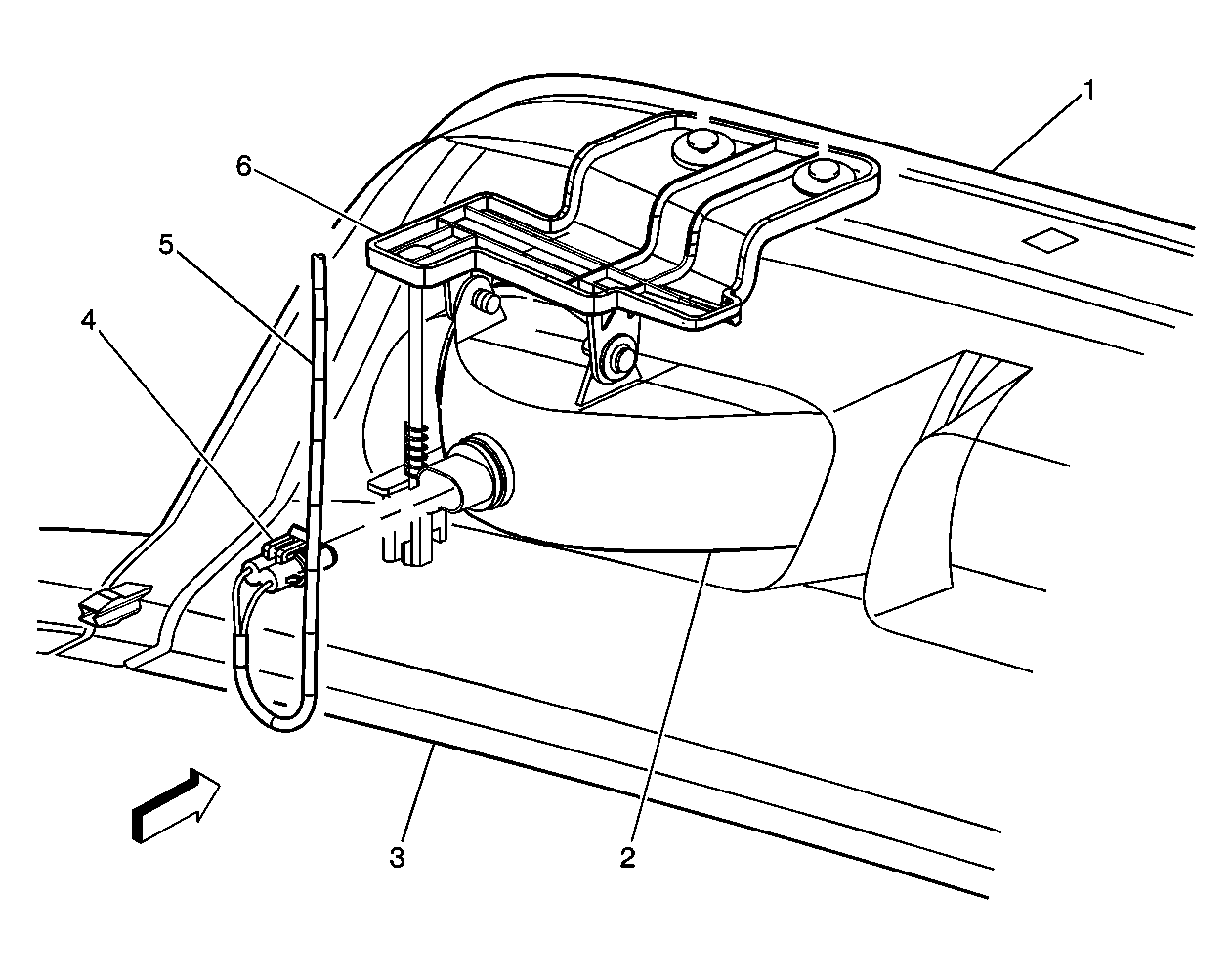
Fig 7: Sunload Sensor Assembly Component View
GM310130Courtesy of GENERAL MOTORS CORP.
Callout Component Name
1 Instrument Panel Bracket
2 Sunload Sensor Harness
3 Sunload Sensor Connector
4 Sunload Sensor Assembly
5 Instrument Panel
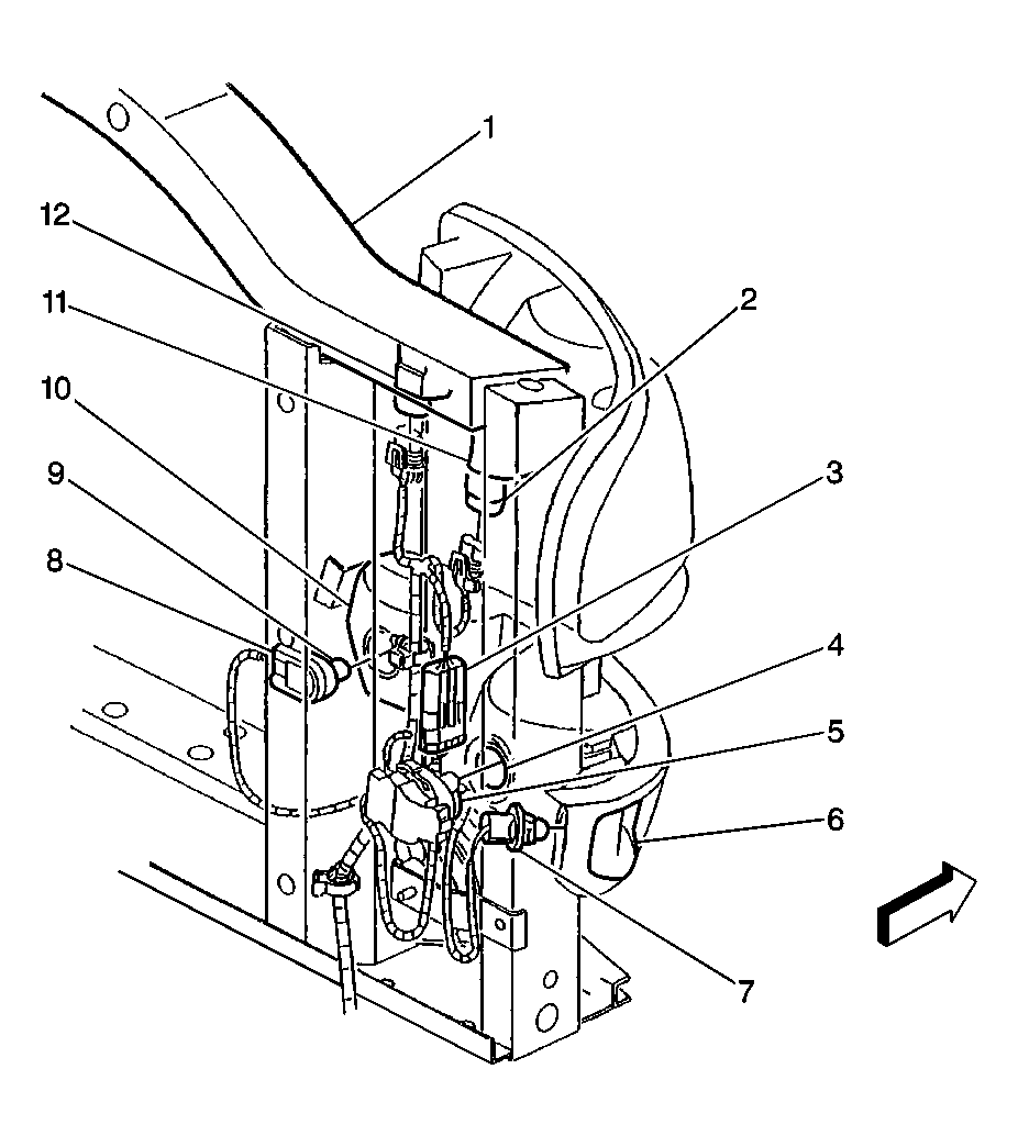
Fig 8: Steering Column Components View
GM349986Courtesy of GENERAL MOTORS CORP.
Callout Component Name
1 Hazard Button
2 High Beams/Cruise/Wiper/Washer
3 Cruise Control Switches
4 Tilt Steering Actuator
5 Inflatable Restraint Harness
6 C201 Inline Connector
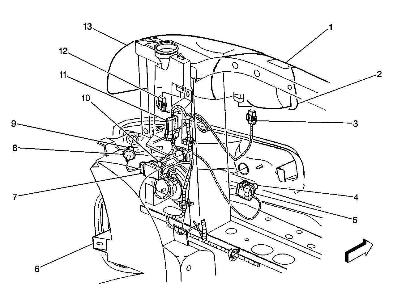
Fig 9: Left Side Of I/P - Switches Component View
GM310113Courtesy of GENERAL MOTORS CORP.
Callout Component Name
1 Automatic Transfer Case (ATC) Electrical Connector
2 Automatic Transfer Case (ATC) Electrical Connector
3 Automatic Transfer Case (ATC) Select Switch
4 Cargo/Fog Lamp Switch
5 Headlamp and Panel Dimmer Switch
6 Instrument Panel
7 Headlamp and Panel Dimmer Switch Electrical Connector
8 Cargo/Fog Lamp Switch Electrical Connector
Fig 10: Lower Left Side Of I/P Components View
GM310145Courtesy of GENERAL MOTORS CORP.
Callout Component Name
1 Fuse Block-Left I/P Connector
2 Body Control Module (BCM) Connectors
3 Splice Pack SP205
4 Fuse Block-Left I/P
5 Data Link Connector (DLC)
6 Courtesy Lamp-Left
7 Courtesy Lamp Socket-Left
8 Support to Dash-Left
9 Right Windshield Pillar Trim Panel
Fig 11: Center Of I/P - Accessory Switches Component View
GM350001Courtesy of GENERAL MOTORS CORP.
Callout Component Name
1 Fog Lamp Switch
2 Roof Beacon Switch
2 Roof Beacon Switch
3 Accessory Switch Housing
3 Accessory Switch Housing
4 Instrument Panel
Fig 12: Lower Center Of I/P Components View
GM310152Courtesy of GENERAL MOTORS CORP.
Callout Component Name
1 Ashtray Lamp Socket
2 Bulb
3 Ashtray Lamp Shield
4 Instrument Panel
5 Accessory Power Outlet
6 Cigar Lighter Assembly
Fig 13: Instrument Panel Compartment Lamp Component View
GM350014Courtesy of GENERAL MOTORS CORP.
Callout Component Name
1 Instrument Panel
2 Instrument Panel Compartment Lamp and Switch
Fig 14: Driver Door Panel Components - Courtesy Lamp Component View
GM350018Courtesy of GENERAL MOTORS CORP.
Callout Component Name
1 Door Courtesy Lamp Electrical Connector
2 Door Courtesy Lamp
3 Left Door
Fig 15: Overhead Console Component View
GM350007Courtesy of GENERAL MOTORS CORP.
Callout Component Name
1 Headliner
2 Overhead Console
3 Overhead Console Electrical Connector
4 Headliner Harness Electrical Connector
Fig 16: Cargo Lamps Component View (Avalanche/Escalade EXT)
GM781680Courtesy of GENERAL MOTORS CORP.
Callout Component Name
1 Cargo Lamp Harness
2 Cargo Lamp Harness Connector
3 Cargo Box/Stowage Box
4 Cargo Lamp
Fig 17: Lower RR Body Panel Component View
GM1408354Courtesy of GENERAL MOTORS CORP.
Callout Component Name
1 Body Panel - RH
2 Junction Block - Rear Lamps
Fig 18: Rear Bumper Component View (Utility)
GM623140Courtesy of GENERAL MOTORS CORP.
Callout Component Name
1 Rear Bumper
2 Tail Lamp Jumper Harness
3 Inline Connector C403
4 License Plate Lamp-RH (LH similar)
Fig 19: License Lamps Component View
GM309881Courtesy of GENERAL MOTORS CORP.
Callout Component Name
1 Lamp Socket
2 Bulb
3 RH License Lamp
4 Bumper
5 LH License Lamp
6 Rear Cross Sill
7 Rear Lamps Bussing Block
Fig 20: Trailer Wiring Harness Component View
GM349960Courtesy of GENERAL MOTORS CORP.
Callout Component Name
1 Trailer Wiring Connector
2 Trailer Wiring Receptacle
3 Frame
4 Trailer Hitch Receiver