LEMON Manuals: Even more car manuals for everyone: 1960-2025
Home >> Cadillac >> 2003 >> Escalade EXT >> Repair and Diagnosis >> External Pages >> Different car >> Section 466 (Lighting Systems (Introduction)) >> Component Locator >> Lighting Systems Connectors
April 5, 2026: LEMON Manuals is launched! Read the announcement.

Lighting Systems Connectors

WARNING: This page does not describe the selected car, but rather 8 other vehicles, including the 2004 GMC Yukon XL, 2004 GMC Yukon, 2004 Chevrolet Tahoe, 2004 Chevrolet Suburban, and 2004 Chevrolet Avalanche. However, it is still accessible from the selected car via links, so may be relevant.
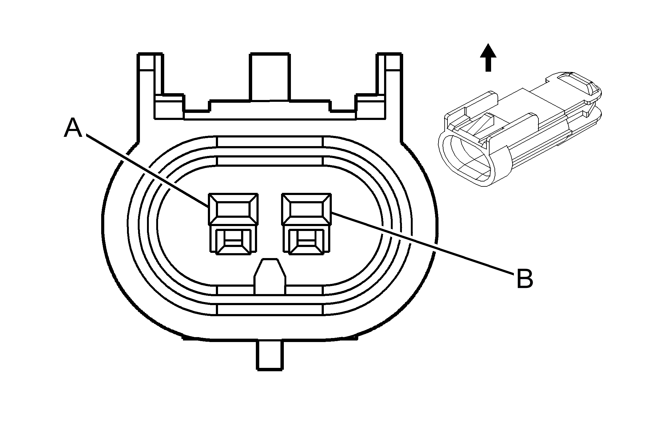
Ambient Light Sensor (w/CJ2)

GM130637Courtesy of GENERAL MOTORS CORP.
Connector Part Information
  • 12064760
  • 4-Way F Metri-Pack 150 Series (BLK)
Pin Wire Color Circuit No. Function
A LT BLU/BLK 590 Driver Sunload Sensor Signal
B GRY 1548 Passenger Sunload Sensor Signal
C BLK 279 Ambient Light Sensor Low Reference
D WHT 278 Ambient Light Sensor Signal
Ambient Light Sensor (w/o CJ2)

GM82383Courtesy of GENERAL MOTORS CORP.
Connector Part Information
  • 12047662
  • 2-Way F Metri-Pack 150 Series (BLK)
Pin Wire Color Circuit No. Function
A WHT 278 Ambient Light Sensor Signal
B BLK 279 Ambient Light Sensor Low Reference
Backup Lamp - Left

GM82372Courtesy of GENERAL MOTORS CORP.
Connector Part Information
  • 12160393
  • 2-Way Lamp Socket Wedge Base W3 Right Angle (LT GRY)
Pin Wire Color Circuit No. Function
A LT GRN 24 Backup Lamp Supply Voltage
G BLK 1750 Ground
Backup Lamp - Right

GM82372Courtesy of GENERAL MOTORS CORP.
Connector Part Information
  • 12160393
  • 2-Way Lamp Socket Wedge Base W3 Right Angle (LT GRY)
Pin Wire Color Circuit No. Function
A LT GRN 24 Backup Lamp Supply Voltage
G BLK 1750 Ground
Bezel Lamp (Y91)

GM309447Courtesy of GENERAL MOTORS CORP.
Connector Part Information
  • 12110566
  • 2-Way F Lamp Socket BB W-1 (BLK)
Pin Wire Color Circuit No. Function
A BRN/WHT 230 Instrument Panel Lamps Dimming Control
B BLK 1050 Ground
Cargo Lamp Assembly - Driver (Avalanche and Escalade EXT Only)

GM632349Courtesy of GENERAL MOTORS CORP.
Connector Part Information
  • 15326806
  • 2-Way F GT 150 Series Sealed (BLK)
Pin Wire Color Circuit No. Function
A ORN 1732 Inadvertent Power Supply Voltage
B DK BLU/WHT 149 Cargo Lamp Low Control
Cargo Lamp Assembly - Passenger (Avalanche and Escalade EXT Only)

GM632349Courtesy of GENERAL MOTORS CORP.
Connector Part Information
  • 15326806
  • 2-Way F GT 150 Series Sealed (BLK)
Pin Wire Color Circuit No. Function
A ORN 1732 Inadvertent Power Supply Voltage
B DK BLU/WHT 149 Cargo Lamp Low Control
Center High Mounted Stop Lamp (CHMSL) (Avalanche and Escalade EXT)

GM39660Courtesy of GENERAL MOTORS CORP.
Connector Part Information
  • 12047785
  • 4-Way F Metri-Pack 150 Series (BLK)
Pin Wire Color Circuit No. Function
A LT BLU 1620 CHMSL Supply Voltage
B BLK 1250 Ground
C-D - - Not Used
Center High Mounted Stop Lamp (CHMSL) (Except Avalanche and Escalade EXT)

GM35441Courtesy of GENERAL MOTORS CORP.
Connector Part Information
  • 12047663
  • 2-Way M Metri-Pack 150 Series (BLK)
Pin Wire Color Circuit No. Function
A LT BLU 1620 CHMSL Supply Voltage
B BLK 1450 Ground
Clearance Lamp - LF (w/NYS)

GM635009Courtesy of GENERAL MOTORS CORP.
Connector Part Information
  • 12052641
  • 2-Way F Metri-Pack 150 Series (BLK)
Pin Wire Color Circuit No. Function
A BRN 2509 Left Rear Park Lamps Supply Voltage
B BLK 1750 Ground
Clearance Lamp - LR (w/NYS)

GM635009Courtesy of GENERAL MOTORS CORP.
Connector Part Information
  • 12052641
  • 2-Way F Metri-Pack 150 Series (BLK)
Pin Wire Color Circuit No. Function
A BRN 2509 Left Rear Park Lamps Supply Voltage
B BLK 1750 Ground
Clearance Lamp - RF (w/NYS)

GM635009Courtesy of GENERAL MOTORS CORP.
Connector Part Information
  • 12052641
  • 2-Way F Metri-Pack 150 Series (BLK)
Pin Wire Color Circuit No. Function
A BRN/WHT 2609 Right Rear Park Lamps Supply Voltage
B BLK 1750 Ground
Clearance Lamp - RR (w/NYS)

GM635009Courtesy of GENERAL MOTORS CORP.
Connector Part Information
  • 12052641
  • 2-Way F Metri-Pack 150 Series (BLK)
Pin Wire Color Circuit No. Function
A BRN/WHT 2609 Right Rear Park Lamps Supply Voltage
B BLK 1750 Ground
Clearance Lamps (w/U01)

GM82383Courtesy of GENERAL MOTORS CORP.
Connector Part Information
  • 12047662
  • 2-Way F Metri-Pack 150 Series (BLK)
Pin Wire Color Circuit No. Function
A BRN 2409 Interior Park Lamps Supply Voltage
B BLK 1050 Ground
Courtesy/Reading Lamp - Mid

GM333035Courtesy of GENERAL MOTORS CORP.
Connector Part Information
  • 12047781
  • 3-Way F Metri-Pack 150 Series (BLK)
Pin Wire Color Circuit No. Function
A GRY/BLK 690 Courtesy Lamp Supply Voltage
B BLK 1050 Ground
C ORN 1732 Inadvertent Power Supply Voltage
Courtesy/Reading Lamp - Rear (Tahoe and Yukon Only)

GM333035Courtesy of GENERAL MOTORS CORP.
Connector Part Information
  • 12047781
  • 3-Way F Metri-Pack 150 Series (BLK)
Pin Wire Color Circuit No. Function
A GRY/BLK 690 Courtesy Lamp Supply Voltage
B BLK 1050 Ground
C ORN 1732 Inadvertent Power Supply Voltage
Daytime Running Lamp (DRL) - Left (Domestic)

GM82372Courtesy of GENERAL MOTORS CORP.
Connector Part Information
  • 15354859
  • 2-Way F Lamp Socket BB W-3 (NAT)
Pin Wire Color Circuit No. Function
A DK BLU 545 DRL Supply Voltage
G BLK 150 Ground
Daytime Running Lamp (DRL) - Left (Export)

GM95769Courtesy of GENERAL MOTORS CORP.
Connector Part Information
  • 15354865
  • 3-Way F Lamp Socket Wedge Base W3 Right Angle (GRY)
Pin Wire Color Circuit No. Function
A DK BLU 545 DRL Supply Voltage
B BRN 2309 Front Park Lamps Supply Voltage
G BLK 150 Ground
Daytime Running Lamp (DRL) - Right (Domestic)

GM82372Courtesy of GENERAL MOTORS CORP.
Connector Part Information
  • 15354859
  • 2-Way F Lamp Socket BB W-3 (NAT)
Pin Wire Color Circuit No. Function
A DK BLU 545 DRL Supply Voltage
G BLK 150 Ground
Daytime Running Lamp (DRL) - Right (Export)

GM95769Courtesy of GENERAL MOTORS CORP.
Connector Part Information
  • 15354865
  • 3-Way F Lamp Socket Wedge Base W3 Right Angle (GRY)
Pin Wire Color Circuit No. Function
A DK BLU 545 DRL Supply Voltage
B BRN 2309 Front Park Lamps Supply Voltage
G BLK 150 Ground
Dome Lamp - C-Pillar (Suburban and Yukon XL Only)

GM333035Courtesy of GENERAL MOTORS CORP.
Connector Part Information
  • 12047781
  • 3-Way F Metri-Pack 150 Series (BLK)
Pin Wire Color Circuit No. Function
A GRY/BLK 690 Courtesy Lamps Supply Voltage
B BLK 1050 Ground
C - - Not Used
Dome Lamp - D-Pillar (Suburban and Yukon XL Only)

GM333035Courtesy of GENERAL MOTORS CORP.
Connector Part Information
  • 12047781
  • 3-Way F Metri-Pack 150 Series (BLK)
Pin Wire Color Circuit No. Function
A WHT 690 Courtesy Lamps Supply Voltage
B ORN 1450 Ground
C - - Not Used
Door Courtesy Lamp - Front Passenger

GM82383Courtesy of GENERAL MOTORS CORP.
Connector Part Information
  • 12047662
  • 2-Way F Metri-Pack 150 Series (BLK)
Pin Wire Color Circuit No. Function
A WHT 156 Courtesy Lamp Low Control
B LT BLU 661 Right Door Courtesy Lamp Ground
Door Courtesy Lamp - LF

GM82383Courtesy of GENERAL MOTORS CORP.
Connector Part Information
  • 12047662
  • 2-Way F Metri-Pack 150 Series (BLK)
Pin Wire Color Circuit No. Function
A DK BLU/WHT 149 Left Door Courtesy Lamp Supply Voltage
B DK BLU 660 Left Door Courtesy Lamp Ground
Door Courtesy Lamp - LR

GM82383Courtesy of GENERAL MOTORS CORP.
Connector Part Information
  • 12047662
  • 2-Way F Metri-Pack 150 Series (BLK)
Pin Wire Color Circuit No. Function
A GRY/BLK 690 Courtesy Lamp Supply Voltage
B BLK 1150 Ground
Door Courtesy Lamp - RR

GM82383Courtesy of GENERAL MOTORS CORP.
Connector Part Information
  • 12047662
  • 2-Way F Metri-Pack 150 Series (BLK)
Pin Wire Color Circuit No. Function
A GRY/BLK 690 Courtesy Lamp Supply Voltage
B BLK 1250 Ground
Fog Lamp - LF

GM684797Courtesy of GENERAL MOTORS CORP.
Connector Part Information
  • 12059183
  • 2-Way F Metri-Pack 280 Series, Sealed (BLK)
Pin Wire Color Circuit No. Function
A PPL 34 Fog Lamps Supply Voltage
B BLK 150 Ground
Fog Lamp - RF

GM684797Courtesy of GENERAL MOTORS CORP.
Connector Part Information
  • 12059183
  • 2-Way F Metri-Pack 280 Series, Sealed (BLK)
Pin Wire Color Circuit No. Function
A PPL 34 Fog Lamps Supply Voltage
B BLK 150 Ground
Fog Lamp - Rear (Export)

GM537107Courtesy of GENERAL MOTORS CORP.
Connector Part Information
  • 12052644
  • 2-Way F Metri-Pack 150 Series, Sealed (GRY)
Pin Wire Color Circuit No. Function
A PPL 122 Off Road Lamps Supply Voltage
B BLK 2250 Ground
Fog Lamp Switch Rear (Export)

GM347262Courtesy of GENERAL MOTORS CORP.
Connector Part Information
  • 15336500
  • 6-Way F Metri-Pack 150.2 Series (GRN)
Pin Wire Color Circuit No. Function
A - - Not Used
B YEL 1977 Rear Fog Lamp Relay and Indicator Control
C LT BLU 187 Rear Fog Lamp Switch Signal
D BLK/WHT 1851 Ground
E PPL/WHT 1382 LED Dimming Supply
F BRN/WHT 230 Instrument Panel Lamps Dimming Control
Headlamp Assembly - Left

GM570216Courtesy of GENERAL MOTORS CORP.
Connector Part Information
  • 12065425
  • 10-Way F Metri-Pack 150 Series Sealed (BLK)
Pin Wire Color Circuit No. Function
A BLK 150 Ground
B - - Not Used
C BLK 150 Ground
D LT BLU 2114 Left Turn Signal Lamps Supply Voltage
E BRN 2309 Front Park Lamps Supply Voltage
F DK GRN/WHT 711 Left Headlamp High Beam Supply Voltage
G BLK 550 Ground
H-J - - Not Used
K DK BLU 545 DRL Supply Voltage
Headlamp Assembly - Right

GM570216Courtesy of GENERAL MOTORS CORP.
Connector Part Information
  • 12065425
  • 10-Way F Metri-Pack 150 Series Sealed (BLK)
Pin Wire Color Circuit No. Function
A BLK 150 Ground
B - - Not Used
C BLK 150 Ground
D LT BLU 2115 Right Turn Signal Lamps Supply Voltage
E BRN 2309 Front Park Lamps Supply Voltage
F DK GRN/WHT 311 Right Headlamp High Beam Supply Voltage
G BLK 150 Ground
H-J - - Not Used
K DK BLU 545 DRL Supply Voltage
Headlamp Ballast - Left

GM833729Courtesy of GENERAL MOTORS CORP.
Connector Part Information
  • 10757671
  • 3-Way FCI/Delphi 2.8 mm Apex Sealed (BLK)
Pin Wire Color Circuit No. Function
1 BLK 550 Ground
2 ORN 3540 Battery Positive Voltage
3 YEL 712 Left Headlamp Low Beam Supply Voltage
Headlamp Ballast - Right

GM833729Courtesy of GENERAL MOTORS CORP.
Connector Part Information
  • 10757671
  • 3-Way FCI/Delphi 2.8 mm Apex Sealed (BLK)
Pin Wire Color Circuit No. Function
1 BLK 550 Ground
2 ORN 3540 Battery Positive Voltage
3 TAN/WHT 312 Right Headlamp Low Beam Supply Voltage
Headlamp - High Beam - Left (Domestic)

GM684797Courtesy of GENERAL MOTORS CORP.
Connector Part Information
  • 12059183
  • 2-Way F Metri-Pack 280 Series Sealed (BLK)
Pin Wire Color Circuit No. Function
A DK GRN/WHT 711 Left Headlamp High Beam Supply Voltage
B BLK 550 Ground
Headlamp - High Beam - Left (Export)

GM684796Courtesy of GENERAL MOTORS CORP.
Connector Part Information
  • 12059181
  • 2-Way F Metri-Pack 280 Series Sealed (GRY)
Pin Wire Color Circuit No. Function
A DK GRN/WHT 711 Left Headlamp High Beam Supply Voltage
B BLK 550 Ground
Headlamp - High Beam - Right (Domestic)

GM684797Courtesy of GENERAL MOTORS CORP.
Connector Part Information
  • 12059183
  • 2-Way F Metri-Pack 280 Series Sealed (BLK)
Pin Wire Color Circuit No. Function
A LT GRN/BLK 311 Right Headlamp High Beam Supply Voltage
B BLK 150 Ground
Headlamp - High Beam - Right (Export)

GM684796Courtesy of GENERAL MOTORS CORP.
Connector Part Information
  • 12059181
  • 2-Way F Metri-Pack 280 Series Sealed (GRY)
Pin Wire Color Circuit No. Function
A LT GRN/BLK 311 Right Headlamp High Beam Supply Voltage
B BLK 150 Ground
Headlamp - Low Beam - Left

GM684796Courtesy of GENERAL MOTORS CORP.
Connector Part Information
  • 12059181
  • 2-Way F Metri-Pack 280 Series Sealed (GRY)
Pin Wire Color Circuit No. Function
A YEL 712 Left Headlamp Low Beam Supply Voltage
B BLK 550 Ground
Headlamp - Low Beam - Right

GM684796Courtesy of GENERAL MOTORS CORP.
Connector Part Information
  • 12059181
  • 2-Way F Metri-Pack 280 Series Sealed (GRY)
Pin Wire Color Circuit No. Function
A TAN/WHT 312 Right Headlamp Low Beam Supply Voltage
B BLK 150 Ground
Headlamp Leveling Actuator - Left (Export)

GM655688Courtesy of GENERAL MOTORS CORP.
Connector Part Information
  • 12124971
  • 3-Way F Sealed (BLK)
Pin Wire Color Circuit No. Function
1 BLK 150 Ground
2 DK GRN 189 Headlamp Leveling Motor Supply Voltage
3 PNK 639 Ignition 1 Voltage
Headlamp Leveling Actuator - Right (Export)

GM655688Courtesy of GENERAL MOTORS CORP.
Connector Part Information
  • 12124971
  • 3-Way F Sealed (BLK)
Pin Wire Color Circuit No. Function
1 BLK 150 Ground
2 DK GRN 189 Headlamp Leveling Motor Supply Voltage
3 PNK 639 Ignition 1 Voltage
Headlamp Leveling Switch (Export)

GM62439Courtesy of GENERAL MOTORS CORP.
Connector Part Information
  • 12047886
  • 8-Way F Metri-Pack 150 Series (BLK)
Pin Wire Color Circuit No. Function
A PNK 639 Ignition 1 Voltage
B DK GRN 189 Headlamp Leveling Motor Supply Voltage
C BLK 150 Ground
D BRN/WHT 230 Instrument Panel Lamps Dimming Control
E-H - - Not Used
Headlamp Switch

GM845611Courtesy of GENERAL MOTORS CORP.
Connector Part Information
  • 15393872
  • 14-Way F (GRN)
Pin Wire Color Circuit No. Function
1 PPL 328 Interior Lamp Defeat Switch Signal
2 GRY/BLK 308 Park Lamp Switch ON Signal
3 BLK/WHT 1851 Ground
4 WHT 103 Headlamp Switch Headlamps ON Signal
5 DK GRN 588 DRL Switch Signal
6 BLK 1050 Ground
7 PNK 1348 Headlamp ON Indicator Control
8 PPL 359 DRL OFF Indicator Control
9 PPL/WHT 1382 LED Dimming Supply
10 DK BLU/WHT 1495 Courtesy Lamp ON Signal
11 ORN/BLK 2090 Dimming Input
12 GRY/BLK 2226 Dimming Return
13 GRY 1056 5-Volt Reference
14 BRN/WHT 230 Instrument Panel Lamps Dimming Control
I/P Compartment Lam

GM82383Courtesy of GENERAL MOTORS CORP.
Connector Part Information
  • 12047662
  • 2-Way F Metri-Pack 150 Series (BLK)
Pin Wire Color Circuit No. Function
A ORN 1732 Inadvertent Power Supply Voltage
B BLK 1050 Ground
Junction Block - Rear Lamps - C1

GM374043Courtesy of GENERAL MOTORS CORP.
Connector Part Information
  • 15305595
  • 8-Way F Global Tech 280 Series (BLU)
Pin Wire Color Circuit No. Function
A LT BLU 2114 Left Turn Signal Lamps Supply Voltage
B LT BLU 1320 CHMSL Supply Voltage
C LT GRN 24 Backup Lamp Supply Voltage
D BRN/WHT 2609 Right Rear Park Lamps Supply Voltage
E BLK 1750 Ground
F - - Not Used
G BRN 2509 Left Rear Park Lamps Supply Voltage
H DK BLU 2115 Right Turn Signal Lamps Supply Voltage
Junction Block - Rear Lamps - C2

GM374045Courtesy of GENERAL MOTORS CORP.
Connector Part Information
  • 15305596
  • 7-Way F Global Tech 280 Series (GRY)
Pin Wire Color Circuit No. Function
A BLK 1750 Ground
B BLK 1750 Ground
C BLK 1750 Ground
D LT BLU 1320 CHMSL Supply Voltage
E BRN 2509 Left Rear Park Lamps Supply Voltage
F LT GRN 24 Backup Lamp Supply Voltage
H LT BLU 2114 Left Turn Signal Lamps Supply Voltage
Junction Block - Rear Lamps - C3

GM374048Courtesy of GENERAL MOTORS CORP.
Connector Part Information
  • 15305599
  • 8-Way F Global Tech 280 Series (BRN)
Pin Wire Color Circuit No. Function
A BRN/WHT 2609 Right Rear Park Lamps Supply Voltage
B - - Not Used
C BLK 1750 Ground
D BLK 1750 Ground (Domestic)
E BLK 1750 Ground (Domestic)
F - - Not Used
G BRN 2509 Left Rear Park Lamps Supply Voltage
H BLK 1750 Ground
Junction Block - Rear Lamps - C4

GM374047Courtesy of GENERAL MOTORS CORP.
Connector Part Information
  • 15305597
  • 7-Way F Global Tech 280 Series (BLK)
Pin Wire Color Circuit No. Function
A LT BLU 1320 CHMSL Supply Voltage
B BRN/WHT 2609 Right Rear Park Lamps Supply Voltage
C BLK 1750 Ground
D BLK 1750 Ground
E LT GRN 24 Backup Lamp Supply Voltage
F DK BLU 2115 Right Turn Signal Lamps Supply Voltage
H BLK 1750 Ground
License Lamp - Left

GM309447Courtesy of GENERAL MOTORS CORP.
Connector Part Information
  • 12110053
  • Bulb Type W-2, Axial (GRY)
Pin Wire Color Circuit No. Function
A BRN 2509 Left Rear Park Lamps Supply Voltage
B BLK 1750 Ground
License Lamp - Right

GM309447Courtesy of GENERAL MOTORS CORP.
Connector Part Information
  • 12110053
  • Bulb Type W-2, Axial (GRY)
Pin Wire Color Circuit No. Function
A BRN 2609 Right Rear Park Lamps Supply Voltage (w/o NYS)
BRN/WHT 2509 Left Rear Park Lamps Supply Voltage (w/NYS)
B BLK 1750 Ground
Marker Lamp - LF (Domestic)

GM309447Courtesy of GENERAL MOTORS CORP.
Connector Part Information
  • 12110053
  • Bulb Type W-2, Axial (NAT)
Pin Wire Color Circuit No. Function
A LT BLU 2114 Left Turn Signal Lamps Supply Voltage
B BRN 2309 Front Park Lamps Supply Voltage
Marker Lamp - LF (Export)

GM309447Courtesy of GENERAL MOTORS CORP.
Connector Part Information
  • 12110053
  • Bulb Type W-2, Axial
Pin Wire Color Circuit No. Function
A BLK 150 Ground
B BRN 2309 Front Park Lamps Supply Voltage
Marker Lamp - LR (w/X88)

GM309447Courtesy of GENERAL MOTORS CORP.
Connector Part Information
  • 12110053
  • Bulb Type W-2, Axial
Pin Wire Color Circuit No. Function
A BRN 2509 Left Rear Park Lamps Supply Voltage
B LT BLU 2114 Left Turn Signal Lamps Supply Voltage
Marker Lamp - RF (Domestic)

GM309447Courtesy of GENERAL MOTORS CORP.
Connector Part Information
  • 12110053
  • Bulb Type W-2, Axial (NAT)
Pin Wire Color Circuit No. Function
A DK BLU 2115 Right Turn Signal Lamps Supply Voltage
B BRN 2309 Front Park Lamps Supply Voltage
Marker Lamp - RF (Export)

GM309447Courtesy of GENERAL MOTORS CORP.
Connector Part Information
  • 12110053
  • Bulb Type W-2, Axial
Pin Wire Color Circuit No. Function
A BLK 150 Ground
B BRN 2309 Front Park Lamps Supply Voltage
Marker Lamp - RR (w/X88)

GM309447Courtesy of GENERAL MOTORS CORP.
Connector Part Information
  • 12110053
  • Bulb Type W-2, Axial
Pin Wire Color Circuit No. Function
A BRN/WHT 2609 Right Rear Park Lamps Supply Voltage
B BLK 1750 Ground
Marker Lamp - Body Rear (w/NYS)

GM816551Courtesy of GENERAL MOTORS CORP.
Connector Part Information
  • 12059252
  • 2-Way M Metri-Pack 150 Series, Sealed (RED)
Pin Wire Color Circuit No. Function
A BRN 2409 Interior Park Lamps Supply Voltage
B BLK 1450 Ground
Mini Wedge (Door Jamb Switch) - Driver - C1

GM68721Courtesy of GENERAL MOTORS CORP.
Connector Part Information
  • 15300027
  • 2-Way F Metri-Pack 280 Series Sealed (BLK)
Pin Wire Color Circuit No. Function
A TAN 294 Door Lock Actuator Unlock Control
694 Door Lock Actuator Unlock Control
B GRY 295 Door Lock Actuator Lock Control
Mini Wedge (Door Jamb Switch) - Driver - C2

GM684972Courtesy of GENERAL MOTORS CORP.
Connector Part Information
  • 15366025
  • 3-Way F GT 150 SLD 3.2 X 4.0 (BLK)
Pin Wire Color Circuit No. Function
A - - Not Used
B GRY/BLK 745 Left Front Door Ajar Switch Signal
C - - Not Used
D BRN 1183 Left Front Door Switch Low Reference
Mini Wedge (Door Jamb Switch) - Driver - C3

GM684793Courtesy of GENERAL MOTORS CORP.
Connector Part Information
  • 12052642
  • 2-Way F Metri-Pack 150 Series Sealed (LT GRN)
Pin Wire Color Circuit No. Function
A DK BLU 536 Driver Door Key Switch Low Reference
B LT GRN 262 Driver Door Key Switch Signal
Mini Wedge (Door Jamb Switch) - Front Passenger - C1

GM68721Courtesy of GENERAL MOTORS CORP.
Connector Part Information
  • 15300027
  • 2-Way F Metri-Pack 280 Series Sealed (BLK)
Pin Wire Color Circuit No. Function
A TAN 294 Door Lock Actuator Unlock Control
B GRY 295 Door Lock Actuator Lock Control
Mini Wedge (Door Jamb Switch) - Front Passenger - C2

GM684974Courtesy of GENERAL MOTORS CORP.
Connector Part Information
  • 15366027
  • 2-Way F GT 150 SLD 3.2 X 4.0 (BLK)
Pin Wire Color Circuit No. Function
A DK GRN 1178 Right Front Door Switch Low Reference
C BLK/WHT 746 Right Front Door Ajar Switch Signal
Mini Wedge (Door Jamb Switch) - Front Passenger - C3

GM684793Courtesy of GENERAL MOTORS CORP.
Connector Part Information
  • 12052642
  • 2-Way F Metri-Pack 150 Series Sealed (LT GRN)
Pin Wire Color Circuit No. Function
A LT BLU 537 Passenger Door Key Switch Low Reference
B LT GRN 265 Passenger Door Key Switch Signal
Mini Wedge (Door Jamb Switch) - LR - C1

GM68721Courtesy of GENERAL MOTORS CORP.
Connector Part Information
  • 15300027
  • 2-Way F Metri-Pack 280 Series Sealed (BLK)
Pin Wire Color Circuit No. Function
A TAN 294 Door Lock Actuator Unlock Control
B GRY 295 Door Lock Actuator Lock Control
Mini Wedge (Door Jamb Switch) - LR - C2

GM684972Courtesy of GENERAL MOTORS CORP.
Connector Part Information
  • 15366025
  • 2-Way F GT 150 Sealed 3.2x4.0 (BLK)
Pin Wire Color Circuit No. Function
B LT BLU/BLK 747 Left Rear Door Ajar Switch Signal
D BLK 1150 Ground
Mini Wedge (Door Jamb Switch) - RR - C1

GM68721Courtesy of GENERAL MOTORS CORP.
Connector Part Information
  • 15300027
  • 2-Way F Metri-Pack 280 Series Sealed (BLK)
Pin Wire Color Circuit No. Function
A TAN 294 Door Lock Actuator Unlock Control
B GRY 295 Door Lock Actuator Lock Control
Mini Wedge (Door Jamb Switch) - RR - C2

GM684972Courtesy of GENERAL MOTORS CORP.
Connector Part Information
  • 15366025
  • 2-Way F GT 150 Sealed 3.2x4.0 (BLK)
Pin Wire Color Circuit No. Function
B LT GRN/BLK 748 Right Rear Door Ajar Switch Signal
D BLK 1250 Ground
Multifunction Accessory Switch

GM845610Courtesy of GENERAL MOTORS CORP.
Connector Part Information
  • 15393435
  • 10-Way F Micro 64 (GRY)
Pin Wire Color Circuit No. Function
A PPL/WHT 1382 LED Dimming Supply (w/T96)
B DK GRN/WHT 1317 Fog Lamp Relay Control (w/T96)
C ORN 192 Front Fog Lamp Switch Signal (w/T96)
D BLK/WHT 1851 Ground
E BRN/WHT 230 Instrument Panel Lamps Dimming Control
F GRY 391 Cargo Lamp Low Control (Avalanche/Escalade EXT Only)
Rear Window Wiper Switch Signal (w/E52)
G YEL 343 Accessory Voltage (w/E52)
H DK GRN/WHT 266 Rear Window Washer Pump Supply Voltage (w/E52)
J DK GRN 392 Rear Window Washer Pump Control (w/E52)
K - - Not Used
Park/Turn Signal Lamp - LF

GM38605Courtesy of GENERAL MOTORS CORP.
Connector Part Information
  • 15324084
  • Bulb Type W-3, Right Angle (BRN)
Pin Wire Color Circuit No. Function
A LT BLU 2114 Left Turn Signal Lamps Supply Voltage
B BRN 2309 Front Park Lamps Supply Voltage
G BLK 150 Ground
Park/Turn Signal Lamp - RF

GM38605Courtesy of GENERAL MOTORS CORP.
Connector Part Information
  • 15324084
  • Bulb Type W-3, Right Angle (BRN)
Pin Wire Color Circuit No. Function
A DK BLU 2115 Right Turn Signal Lamps Supply Voltage
B BRN 2309 Front Park Lamps Supply Voltage
G BLK 150 Ground
Repeater Lamp - LF (Export)

GM333041Courtesy of GENERAL MOTORS CORP.
Connector Part Information
  • 12162000
  • 2-Way M Metri-Pack 150 Series (BLK)
Pin Wire Color Circuit No. Function
A LT BLU 2114 Left Turn Signal Lamps Supply Voltage
B BLK 150 Ground
Repeater Lamp - RF (Export)

GM333041Courtesy of GENERAL MOTORS CORP.
Connector Part Information
  • 12162000
  • 2-Way M Metri-Pack 150 Series (BLK)
Pin Wire Color Circuit No. Function
A DK BLU 2115 Right Turn Signal Lamps Supply Voltage
B BLK 150 Ground
Roof Beacon Relay (w/5X7, 5G4, TRW, or 5Y0)

GM281201Courtesy of GENERAL MOTORS CORP.
Connector Part Information
  • 12110541
  • 6-Way F Metri-Pack 280 Series Flexlock (BLK)
Pin Wire Color Circuit No. Function
A1 BLK 2650 Ground
A2 BRN 27 Hazard Flasher Signal
B1-B2 - - Not Used
C1 ORN 2340 Battery Positive Voltage
C2 WHT 111 Hazard Switch Signal
Roof Beacon Switch (w/5X7, 5G4, TRW, or 5Y0)

GM304345Courtesy of GENERAL MOTORS CORP.
Connector Part Information
  • 12177195
  • 6-Way F Metri-Pack 150 Series (BLK)
Pin Wire Color Circuit No. Function
A - - Not Used
B BLK 1050 Ground
C WHT 111 Hazard Switch Signal
D PPL/WHT 1382 LED Dimming Signal
E BRN/WHT 230 Instrument Panel Lamp Supply Voltage
F ORN 4540 Battery Positive Voltage
Roof Marker Lamp - Left (w/U01)

GM82383Courtesy of GENERAL MOTORS CORP.
Connector Part Information
  • 12047662
  • 2-Way F Metri-Pack 150 Series (BLK)
Pin Wire Color Circuit No. Function
A BRN 2409 Interior Park Lamps Supply Voltage
B BLK 1050 Ground
Roof Marker Lamp - Right (w/U01)

GM82383Courtesy of GENERAL MOTORS CORP.
Connector Part Information
  • 12047662
  • 2-Way F Metri-Pack 150 Series (BLK)
Pin Wire Color Circuit No. Function
A BRN 2409 Interior Park Lamps Supply Voltage
B BLK 1050 Ground
Stop Lamp Switch

GM62424Courtesy of GENERAL MOTORS CORP.
Connector Part Information
  • 12040551
  • 6-Way F Metri-Pack 480 Series (BLK)
Pin Wire Color Circuit No. Function
A WHT 17 Stop Lamp Switch Signal (w/o JF4)
DK GRN/WHT 1135 A/T Shift Lock Control Solenoid Supply Voltage (w/JF4)
B ORN 1540 Battery Positive Voltage (w/o JF4)
LT GRN/BLK 584 A/T Shift Lock Control Switch Supply Voltage (w/JF4)
C BRN 441 Ignition 3 Voltage
D PPL 420 TCC Brake Switch Signal
E LT GRN/BLK 584 A/T Shift Lock Control Switch Supply Voltage (w/o JF4)
ORN 1540 Battery Positive Voltage (w/JF4)
F DK GRN/WHT 1135 A/T Shift Lock Control Solenoid Supply Voltage (w/o JF4)
WHT 17 Stop Lamp Switch Signal (w/JF4)
Tail/Stop Lamp - Left

GM95769Courtesy of GENERAL MOTORS CORP.
Connector Part Information
  • 12160395
  • 3-Way Lamp Socket Wedge Base W3 Right Angle (GRY)
Pin Wire Color Circuit No. Function
A LT BLU 1320 Stop Lamp Supply Voltage
B BRN 2509 Left Rear Park Lamps Supply Voltage
G BLK 1750 Ground
Tail/Stop Lamp - Right

GM95769Courtesy of GENERAL MOTORS CORP.
Connector Part Information
  • 12160395
  • 3-Way Lamp Socket Wedge Base W3 Right Angle (GRY)
Pin Wire Color Circuit No. Function
A LT BLU 1320 Stop Lamp Supply Voltage
B BRN/WHT 2609 Right Rear Park Lamps Supply Voltage
G BLK 1750 Ground
Turn Signal - LR

GM38605Courtesy of GENERAL MOTORS CORP.
Connector Part Information
  • 12160394
  • 3-Way Lamp Socket Wedge Base W3 Right Angle (NAT)
Pin Wire Color Circuit No. Function
A LT BLU 2114 Left Turn Signal Lamps Supply Voltage
B - - Not Used
G BLK 1750 Ground
Turn Signal - RR

GM38605Courtesy of GENERAL MOTORS CORP.
Connector Part Information
  • 12160394
  • 3-Way Lamp Socket Wedge Base W3 Right Angle (NAT)
Pin Wire Color Circuit No. Function
A DK BLU 2115 Right Turn Signal Lamps Supply Voltage
B - - Not Used
G BLK 1750 Ground
Turn Signal Multifunction Switch - C1

GM39746Courtesy of GENERAL MOTORS CORP.
Connector Part Information
  • 12064862
  • 8-Way F Metri-Pack 150 Series (BLK)
Pin Wire Color Circuit No. Function
A LT GRN 1427 Right Turn Signal Switch Signal
B PNK 639 Ignition 1 Voltage
C DK GRN 1428 Left Turn Signal Switch Signal
D ORN 57 Left Cornering Lamp Supply Voltage
E BRN 2309 Front Park Lamps Supply Voltage
F TAN 58 Right Cornering Lamp Supply Voltage
G TAN 28 Horn Relay Control
H WHT 111 Hazard Switch Signal
Turn Signal Multifunction Switch - C2

GM130718Courtesy of GENERAL MOTORS CORP.
Connector Part Information
  • 12059800
  • 5-Way F Metri-Pack 150 Series (BLK)
Pin Wire Color Circuit No. Function
A BLK/WHT 1851 Ground
B YEL 307 Headlamp Switch Flash to Pass Signal
C LT GRN 11 Headlamp Dimmer Switch Signal
D-E - - Not Used
Turn Signal Multifunction Switch - C3

GM811190Courtesy of GENERAL MOTORS CORP.
Connector Part Information
  • 15339058
  • 7-Way F Metri-Pack 150 Series (BLK)
Pin Wire Color Circuit No. Function
G - - Not Used
H PNK 94 Windshield Wiper Switch Signal 1
J GRY 478 Windshield Wiper Switch Supply Voltage
K DK BLU 477 Windshield Wiper Switch High Signal
L-N - - Not Used
Turn Signal Multifunction Switch - C4 (w/K34)

GM39661Courtesy of GENERAL MOTORS CORP.
Connector Part Information
  • 12047786
  • 4-Way F Metri-Pack 150 Series (BLK)
Pin Wire Color Circuit No. Function
A BRN 341 Ignition 3 Voltage
B GRY 397 Cruise Control On Switch Signal
C GRY/BLK 87 Cruise Control Resume/Accel Switch Signal
D DK BLU 84 Cruise Control Set/Coast Switch Signal
Trailer Connector - Heavy Duty

GM525095Courtesy of GENERAL MOTORS CORP.
Connector Part Information
  • 15354653
  • 7-Way F Metri-Pack 280 Sealed (BLK)
Pin Wire Color Circuit No. Function
A LT GRN 1624 Trailer Backup Lamps Supply Voltage
B BLK 1550 Ground (30 Series Except Chassis Cab)
1650 Ground (30 Series Chassis Cab)
1750 Ground (10/20 Series)
C DK BLU 47 Trailer Auxiliary Supply Voltage
D DK GRN 1619 Trailer Right Rear Turn/Stop Lamp Supply Voltage
E RED 742 Battery Positive Voltage
F BRN 2109 Trailer Park Lamps Supply Voltage
G YEL 1618 Trailer Left Rear Turn/Stop Lamp Supply Voltage
Vanity Mirror Lamp - Left

GM35441Courtesy of GENERAL MOTORS CORP.
Connector Part Information
  • 12047663
  • 2-Way M Metri-Pack 150 Series Sealed (BLK)
Pin Wire Color Circuit No. Function
A ORN 1732 Inadvertent Power Supply Voltage
B BLK 1050 Ground
Vanity Mirror Lamp - Right

GM35441Courtesy of GENERAL MOTORS CORP.
Connector Part Information
  • 12047663
  • 2-Way M Metri-Pack 150 Series Sealed (BLK)
Pin Wire Color Circuit No. Function
A ORN 1732 Inadvertent Power Supply Voltage
B BLK 1050 Ground