LEMON Manuals: Even more car manuals for everyone: 1960-2025
Home >> Cadillac >> 2005 >> DeVille Base >> Repair and Diagnosis >> Engine Performance >> System >> Engine Controls - Introduction >> Repair Instructions >> Fuel Tank Replacement >> Disassemble Procedure
April 5, 2026: LEMON Manuals is launched! Read the announcement.

Disassemble Procedure

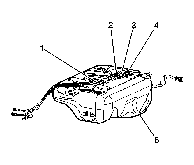
    Fig 1: Identifying Fuel Tank And Components
    GM681724Courtesy of GENERAL MOTORS CORP.
  1. If the fuel tank is not being replaced, refer to the Installation Procedure.
  2. Remove the fuel pipes (2, 3) and the EVAP pipe (1).
  3. Remove the fuel sender assembly. Refer to Fuel Sender Assembly Replacement .
  4. Fig 2: Identifying Fuel Filler Neck
    GM104599Courtesy of GENERAL MOTORS CORP.
  5. Remove the fuel filler hose clamp (2).
  6. Remove the fuel filler hose from the fuel tank (3).