Engine Control Module (ECM) Connector End Views
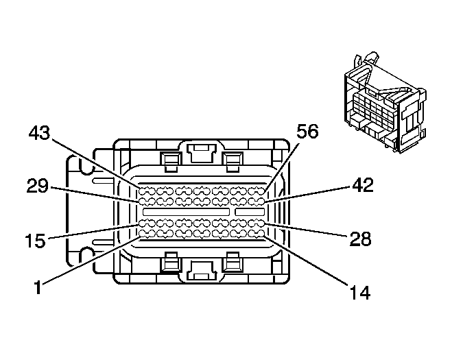
Engine Control Module (ECM) - C1 Connector End View
| Connector Part Information |
|
||
|---|---|---|---|
| Pin | Wire Color | Circuit No. | Function |
| 1 | TN/BK | 2500 | High Speed GMLAN Serial Data Bus (+) |
| 2 | TN | 2501 | High Speed GMLAN Serial Data Bus (-) |
| 3-4 | - | - | Not Used |
| 5 | TN | 1274 | 5-Volt Reference |
| 6 | - | - | Not Used |
| 7 | WH/BK | 1164 | 5-Volt Reference |
| 8-9 | - | - | Not Used |
| 10 | WH | 1310 | EVAP Canister Vent Solenoid Control |
| 11 | OG/BK | 380 | A/C Refrigerant Pressure Sensor Signal |
| 12 | - | - | Not Used |
| 13 | WH | 17 | Stop Lamp Switch Signal |
| 14 | YE/BK | 625 | Starter Enable Relay Control |
| 15-16 | - | - | Not Used |
| 17 | PK | 439 | Ignition 1 Voltage |
| 18 | PK | 1439 | Ignition 1 Voltage |
| 19 | PK | 1439 | Ignition 1 Voltage |
| 20 | RD/WH | 2440 | Battery Positive Voltage |
| 21 | L-BU | 1162 | APP Sensor 2 Signal |
| 22 | - | - | Not Used |
| 23 | D-GN/WH | 465 | Fuel Pump Relay Control |
| 24 | BN/WH | 419 | MIL Control |
| 25 | D-GN/WH | 459 | A/C Compressor Clutch Relay Control |
| 26 | WH | 121 | Engine Speed Signal |
| 27 | D-BU | 1161 | APP Sensor 1 Signal |
| 28 | D-GN/WH | 817 | Vehicle Speed Signal |
| 29 | YE | 492 | MAF Sensor Signal |
| 30 | - | - | Not Used |
| 31 | TN | 2760 | Low Reference |
| 32 | BK/WH | 2751 | Low Reference |
| 33 | OG/BK | 812 | 12-Volt Reference |
| 34 | - | - | Not Used |
| 35 | GY | 2700 | 5-Volt Reference |
| 36 | BN | 1271 | Low Reference |
| 37 | PU | 1272 | Low Reference |
| 38-42 | - | - | Not Used |
| 43 | WH/BK | 448 | Powertrain Diagnostic Enable |
| 44-45 | - | - | Not Used |
| 46 | YE | 43 | Accessory Voltage |
| 47 | - | - | Not Used |
| 48 | BN | 5546 | Fuel Pump Speed Control Feedback Signal |
| 49-50 | - | - | Not Used |
| 51 | TN/BK | 472 | IAT Sensor Signal |
| 52-54 | - | - | Not Used |
| 55 | D-GN | 335 | Low Speed Cooling Fan Relay Control |
| 56 | - | - | Not Used |
Engine Control Module (ECM) - C2 Connector End View
| Connector Part Information |
|
||
|---|---|---|---|
| Pin | Wire Color | Circuit No. | Function |
| 1-2 | - | - | Not Used |
| 3 | D-GN | 485 | TP Sensor 1 Signal |
| 4 | PU | 486 | TP Sensor 2 Signal |
| 5-7 | - | - | Not Used |
| 8 | L-GN | 432 | MAP Sensor Signal |
| 9 | - | - | Not Used |
| 10 | YE | 573 | CKP Sensor 1 Signal |
| 11 | L-BU | 1876 | Knock Sensor 2 Signal |
| 12 | GY | 23 | Generator Field Duty Cycle Signal |
| 13 | GY | 1716 | Low Reference |
| 14 | L-GN | 5282 | CMP Actuator Solenoid Control Bank 1 Exhaust |
| 15-16 | - | - | Not Used |
| 17 | TN | 1744 | Fuel Injector 1 Control |
| 18 | L-GN/BK | 1745 | Fuel Injector 2 Control |
| 19 | D-BU | 496 | Knock Sensor 1 Signal |
| 20 | PK/BK | 1746 | Fuel Injector 3 Control |
| 21 | OG/BK | 877 | Fuel Injector 7 Control |
| 22 | TN/WH | 845 | Fuel Injector 5 Control |
| 23 | YE/BK | 846 | Fuel Injector 6 Control |
| 24 | D-BU/WH | 878 | Fuel Injector 8 Control |
| 25 | D-GN | 5273 | CMP Sensor Signal Bank 1 Exhaust |
| 26 | - | - | Not Used |
| 27 | BN/WH | 5303 | Low Reference |
| 28 | GY | 2303 | Low Reference |
| 29 | PU | 5284 | CMP Actuator Solenoid Control Bank 1 Intake |
| 30 | L-BU/BK | 844 | Fuel Injector 4 Control |
| 31 | OG/BK | 5272 | CMP Actuator Solenoid Control Bank 2 Intake |
| 32 | OG | 5275 | CMP Sensor Signal Bank 1 Intake |
| 33 | D-BU | 5300 | 12-Volt Reference |
| 34 | WH/BK | 5283 | CMP Actuator Solenoid Control Bank 2 Exhaust |
| 35 | TN | 5301 | Low Reference |
| 36 | OG/BK | 469 | Low Reference |
| 37 | TN | 2752 | Low Reference |
| 38 | TN | 2761 | Low Reference |
| 39 | BN/WH | 2130 | Low Reference |
| 40 | L-BU | 5302 | 12-Volt Reference |
| 41 | PU | 574 | Low Reference |
| 42 | BN | 2129 | Low Reference |
| 43 | PU | 5274 | CMP Sensor Signal Bank 2 Exhaust |
| 44 | BN | 582 | TAC Motor Control - 2 |
| 45 | GY | 5296 | Low Reference |
| 46 | L-GN | 5298 | 12-Volt Reference |
| 47 | BN | 5299 | Low Reference |
| 48 | YE | 581 | TAC Motor Control - 1 |
| 49 | YE | 5276 | CMP Sensor Signal Bank 2 Intake |
| 50 | L-GN | 1867 | 12-Volt Reference |
| 51 | GY | 2701 | 5-Volt Reference |
| 52-53 | - | - | Not Used |
| 54 | YE | 410 | ECT Sensor Signal |
| 55 | D-GN/WH | 428 | EVAP Canister Purge Solenoid Control |
| 56-57 | - | - | Not Used |
| 58 | PU | 2121 | IC 1 Control |
| 59 | OG/WH | 2122 | IC 2 Control |
| 60 | OG | 2127 | IC 7 Control |
| 61 | L-BU | 2123 | IC 3 Control |
| 62 | D-GN/WH | 2124 | IC 4 Control |
| 63 | PU/WH | 2128 | IC 8 Control |
| 64 | D-GN | 2125 | IC 5 Control |
| 65 | GY | 2704 | 5-Volt Reference |
| 66-67 | - | - | Not Used |
| 68 | OG | 225 | Generator Turn On Signal |
| 69 | L-BU/WH | 2126 | IC 6 Control |
| 70 | - | - | Not Used |
| 71 | YE/BK | 5297 | 12-Volt Reference |
| 72 | - | - | Not Used |
| 73 | BK/WH | 451 | Ground |
Engine Control Module (ECM) - C3 Connector End View
| Connector Part Information |
|
||
|---|---|---|---|
| Pin | Wire Color | Circuit No. | Function |
| 1 | PU | 3110 | HO2S Reference Voltage Bank 1 Sensor 1 |
| 2 | TN/WH | 3111 | HO2S Low Reference Bank 1 Sensor 1 |
| 3 | PU/WH | 5281 | HO2S Output Pump Current Bank 1 Sensor 1 |
| 4-11 | - | - | Not Used |
| 12 | D-BU | 1936 | Fuel Level Sensor Signal - Primary |
| 13 | GY/WH | 3122 | HO2S Heater Low Control Bank 1 Sensor 2 |
| 14-15 | - | - | Not Used |
| 16 | OG/BK | 3223 | HO2S Heater Low Control Bank 2 Sensor 2 |
| 17 | - | - | Not Used |
| 18 | OG/BK | 1786 | Park/Neutral Signal |
| 19 | TN/WH | 3121 | HO2S Low Signal Bank 1 Sensor 2 |
| 20 | PU | 3220 | HO2S High Signal Bank 2 Sensor 2 |
| 21 | TN | 3221 | HO2S Low Signal Bank 2 Sensor 2 |
| 22 | OG | 5280 | HO2S Input Pump Current Bank 1 Sensor 1 |
| 23 | BN | 1174 | Oil Level Switch Signal |
| 24 | L-BU | 1937 | Fuel Level Sensor Signal - Secondary |
| 25 | TN/WH | 331 | Oil Pressure Sensor Signal |
| 26-36 | - | - | Not Used |
| 37 | TN | 808 | Low Reference |
| 38 | BK | 2755 | Low Reference |
| 39 | - | - | Not Used |
| 40 | GY/WH | 3113 | HO2S Heater Low Control Bank 1 Sensor 1 |
| 41 | L-GN | 3212 | HO2S Heater Low Control Bank 2 Sensor 1 |
| 42 | GY | 2709 | 5-Volt Reference |
| 43 | PU | 3120 | HO2S High Signal Bank 1 Sensor 2 |
| 44 | D-GN | 890 | Fuel Tank Pressure Sensor Signal |
| 45 | PU/WH | 3210 | HO2S Reference Voltage Bank 2 Sensor 1 |
| 46 | TN/WH | 3211 | HO2S Low Reference Bank 2 Sensor 1 |
| 47 | - | - | Not Used |
| 48 | WH | 5279 | HO2S Output Pump Current Bank 2 Sensor 1 |
| 49 | L-GN | 5278 | HO2S Input Pump Current Bank 2 Sensor 1 |
| 50 | - | - | Not Used |
| 51 | GY | 2705 | 5-Volt Reference |
| 52-56 | - | - | Not Used |