LEMON Manuals: Even more car manuals for everyone: 1960-2025
Home >> Cadillac >> 2007 >> SRX RWD V6-3.6L >> Repair and Diagnosis >> Powertrain Management >> Computers and Control Systems >> Body Control Module >> Diagrams
April 5, 2026: LEMON Manuals is launched! Read the announcement.

Body Control Module: Diagrams



Data Communication Connector End Views

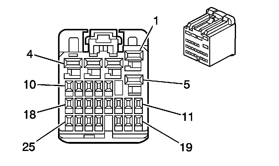
Body Control Module (BCM) C1














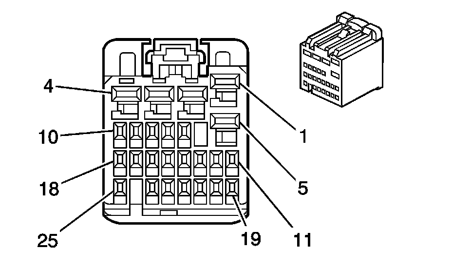
Body Control Module (BCM) C2














Body Control Module (BCM) C3














Body Control Module (BCM) C4














Body Control Module (BCM) C5














Body Control Module (BCM) C6














Body Control Module (BCM) C7














Rear Body Control Module (EXPORT) C1














Rear Body Control Module (RHD) C2