LEMON Manuals: Even more car manuals for everyone: 1960-2025
Home >> Cadillac >> 2007 >> STS V >> Repair and Diagnosis >> External Pages >> Different car >> Section 11 (Computer/Integrating Systems) >> Component Locator >> Computer/Integrating Systems Connector End Views >> Rear Integration Module (RIM) - C4
April 5, 2026: LEMON Manuals is launched! Read the announcement.

Rear Integration Module (RIM) - C4

WARNING: This page is about a different car, the 2006 Cadillac STS. However, it is still accessible from the selected car via links, so may be relevant.
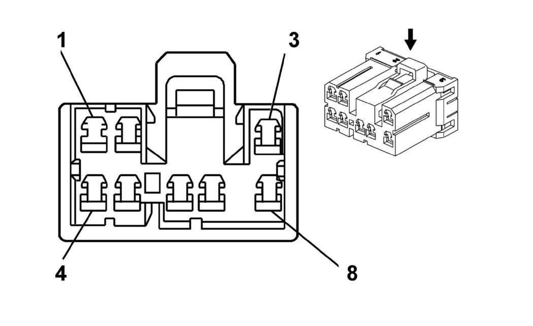
Fig 1: Rear Integration Module (RIM) - C4 Connector
GM1391782Courtesy of GENERAL MOTORS CORP.
Computer/Integrating Systems Connector End Views

Connector Part Information 
  • OEM: 173850-1
  • Service: 88953352
  • Description: 8-Way F 070 (WH)
Terminal Part Information 
  • Pins: 2, 3, 4, 5, 5, 6, 6, 7, 8
  • Terminal/Tray: 173630-7/7
  • Core/Insulation Crimp: E/4
  • Release Tool/Test Probe: 15315247/J-35616-33 (YE)
Rear Integration Module (RIM) - C4

Pin Wire Color Circuit No. Function
1 - - Not Used
2 RD/BK 442 Battery Positive Voltage
3 GY 157 Interior Lamp Control
4 BK/WH 851 Signal Ground
5 YE 18 Left Rear Stop/Turn Lamp Supply Voltage (TT6/UE1)
5 YE 18 Left Rear Stop/Turn Lamp Supply Voltage (TT7/TT8/V92)
6 D-GN 19 Right Rear Stop/Turn Lamp Supply Voltage (TT6/UE1)
6 D-GN 19 Right Rear Stop/Turn Lamp Supply Voltage(TT7/TT8/V92)
7 RD/WH 540 Battery Positive Voltage
8 BK 850 Ground