LEMON Manuals: Even more car manuals for everyone: 1960-2025
Home >> Cadillac >> 2009 >> STS AWD V8-4.6L >> Repair and Diagnosis >> Engine, Cooling and Exhaust >> Engine >> Specifications >> Thread Repair Specifications
April 5, 2026: LEMON Manuals is launched! Read the announcement.

Thread Repair Specifications




Thread Repair Specifications

Left Cylinder Head Camshaft Cover Face









Left Cylinder Head Front Face









Left Cylinder Head Intake Face









Left Cylinder Head Exhaust Face









Left Cylinder Head Rear Face









Right Cylinder Head Camshaft Cover Face









Right Cylinder Head Front Face









Right Cylinder Head Intake Face









Right Cylinder Head Exhaust Face









Right Cylinder Head Rear Face









Engine Block Front









Engine Block Left Side









Engine Block Right Side









Engine Block Rear









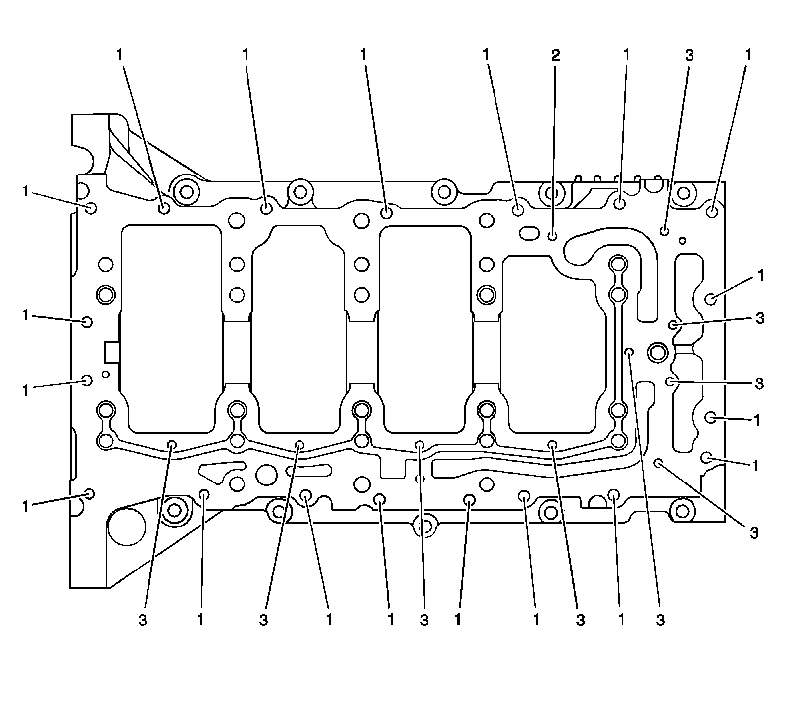
Engine Block Top









Engine Block Left Deck Face









Engine Block Right Deck Face









Engine Block Lower Face









Lower Crankcase Pan Face









Engine Front Cover









Camshaft Position Actuator Housing









Camshaft Covers









#1 Threads are created initially when coil ground strap bolt is installed.

Oil Pan - Left









Oil Pan - Right









Oil Pan - Rear