LEMON Manuals: Even more car manuals for everyone: 1960-2025
Home >> Cadillac >> 2011 >> DTS 4.6 6 >> Repair and Diagnosis >> Electrical >> Component Locations >> Electrical Component Locator - Instrument Panel/Center Console Component Views >> Instrument Panel/Center Console Component Views >> HVAC Module Components 2 of 2
April 5, 2026: LEMON Manuals is launched! Read the announcement.

HVAC Module Components 2 of 2

HVAC Module Components 2 of 2

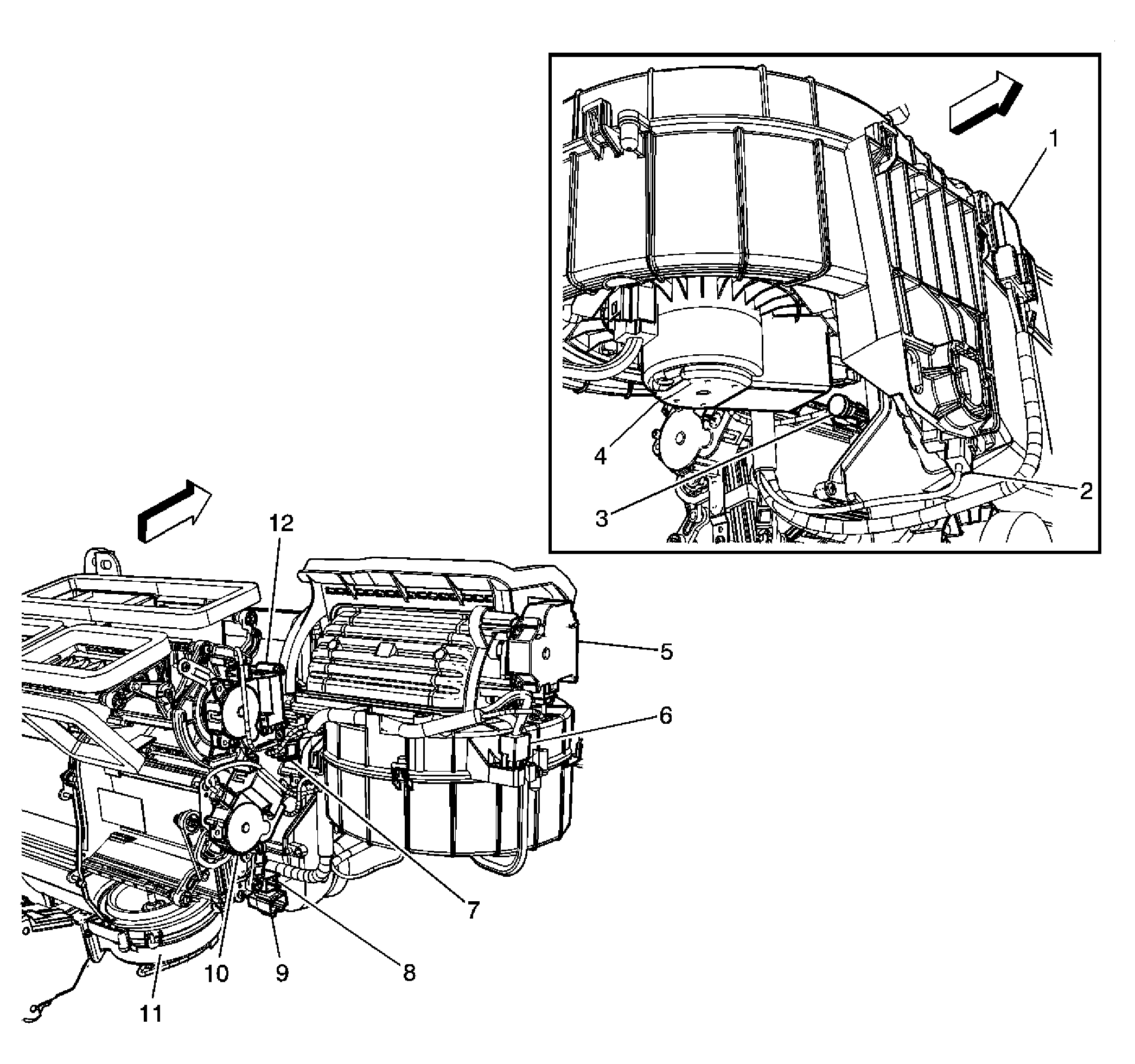
Component Name Callout
Blower Motor Control Module 1
Blower Motor Control Module - Auxiliary (CJ4) 2
Evaporative Temperature Sensor 3
Blower Motor 4
Recirculation Actuator 5
X206 HVAC Harness to Body Harness 6
Air Temperature Actuator - Front Passenger 7
X204 HVAC Harness to I/P Harness 8
X202 HVAC Harness to I/P Harness 9
Air Temperature Actuator - Rear Passenger 10
Blower Motor - Auxiliary (CJ4) 11
Mode Actuator 12
Fig 1: HVAC Module Components 2 of 2
GM1656934Courtesy of GENERAL MOTORS COMPANY