LEMON Manuals: Even more car manuals for everyone: 1960-2025
Home >> Cadillac >> 2011 >> DTS 4.6 6 >> Repair and Diagnosis >> Electrical >> Component Locations >> Electrical Component Locator - Instrument Panel/Center Console Component Views >> Instrument Panel/Center Console Component Views >> I/P Components
April 5, 2026: LEMON Manuals is launched! Read the announcement.

I/P Components

I/P Components

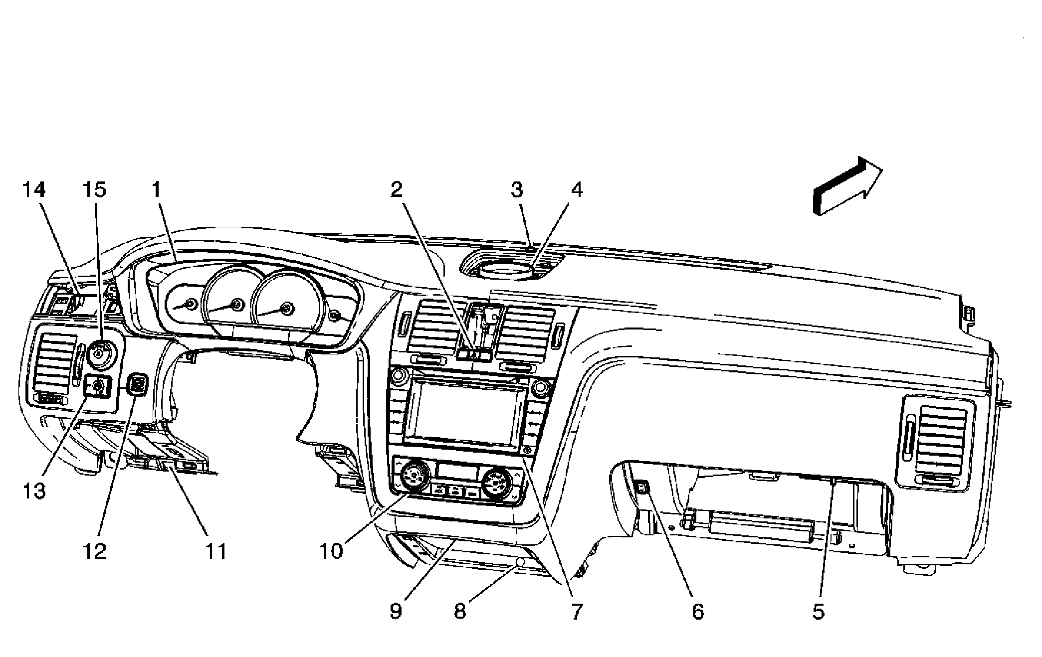
Component Name Callout
Instrument Panel Cluster (IPC) 1
Hazard Switch 2
Sunload Twilight Sensor 3
Speaker - Front Center 4
I/P Compartment Lamp 5
Valet Switch 6
Radio/Navigation Unit (U3Q) 7
Auxiliary Power Outlet (AV8-DT4), Cigar Lighter (AV8+DT4) 8
Ashtray Lamp (AV8) 9
HVAC Control Module 10
Data Link Connector (DLC) 11
Air Temperature Sensor - Inside 12
Rear Compartment Lid Release Switch 13
Driver Information Center (DIC) Switch 14
Headlamp Switch 15
Fig 1: I/P Component View
GM1657309Courtesy of GENERAL MOTORS COMPANY