LEMON Manuals: Even more car manuals for everyone: 1960-2025
Home >> Cadillac >> 2012 >> Escalade EXT >> Repair and Diagnosis >> External Pages >> Different car >> Section 794 (Data Communication System) >> Visual Identification >> Data Communication Connectors >> Body Control Module (BCM) C3
April 5, 2026: LEMON Manuals is launched! Read the announcement.

Body Control Module (BCM) C3

WARNING: This page does not describe the selected car, but rather 8 other vehicles, including the 2007 GMC Yukon XL, 2007 GMC Yukon, 2007 Chevrolet Tahoe, 2007 Chevrolet Suburban, and 2007 Chevrolet Avalanche. However, it is still accessible from the selected car via links, so may be relevant.
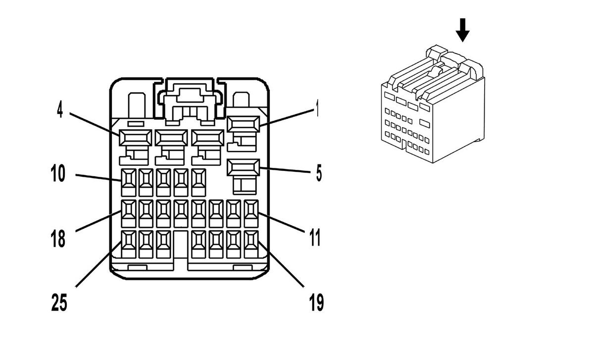
Fig 1: Body Control Module (BCM) C3 Connector End View
GM1664498Courtesy of GENERAL MOTORS CORP.
Body Control Module (BCM) C3 Connector Parts Information

Connector Part Information 
  • OEM: 15482791
  • Service: 88988840
  • Description: 25-Way F HIT Series (L-BU)
Terminal Part Information 
  • Pins: 1-5
  • Terminal/Tray: SNAC-A061T-M2.8/20
  • Core/Insulation Crimp: E/A
  • Release Tool/Test Probe: 12094429/J-35616-4A (PU)
  • Pins: 6-25
  • Terminal/Tray: SNAC3-A021T-M0.64/20
  • Core/Insulation Crimp: J/J
  • Release Tool/Test Probe: 12094429/J-35616-64B (L-BU)
Body Control Module (BCM) C3 Connector Terminal Identification

Pin Wire Color Circuit No. Function
1 BK/WH 1851 Ground
2 RD/WH 2140 Battery Positive Voltage
3 RD/WH 3840 Battery Positive Voltage
4 - - Not Used
5 BK/WH 1851 Ground
6-7 - - Not Used
8 TN/BK 2500 High Speed GMLAN Serial Data Bus +
9 TN 2501 High Speed GMLAN Serial Data Bus -
10 D-GN 5060 Low Speed GMLAN Serial Data
11 D-GN 44 Instrument Panel Lamps Dimmer Switch Signal
12 OG/WH 812 12-Volt Reference or I/P Dimming Voltage Reference
13 PU 7062 Brake Pedal Switch Normally Closed Contact Signal
14-15 - - Not Used
16 TN/BK 2500 High Speed GMLAN Serial Data Bus +
17 TN 2501 High Speed GMLAN Serial Data Bus -
18 YE 6817 LED Backlight Dimming Control
19 L-BU 5986 Serial Data Communication Enable
20 - - Not Used
21 OG 192 Front Fog Lamp Switch Signal
22 L-GN/WH 7158 Cruise Control Indicator Dimming Signal
23-24 - - Not Used
25 PU/WH 6816 Indicator Dimming Control