LEMON Manuals: Even more car manuals for everyone: 1960-2025
Home >> Cadillac >> 2012 >> Escalade EXT >> Repair and Diagnosis >> External Pages >> Different car >> Section 794 (Data Communication System) >> Visual Identification >> Data Communication Connectors >> Body Control Module (BCM) C4
April 5, 2026: LEMON Manuals is launched! Read the announcement.

Body Control Module (BCM) C4

WARNING: This page does not describe the selected car, but rather 8 other vehicles, including the 2007 GMC Yukon XL, 2007 GMC Yukon, 2007 Chevrolet Tahoe, 2007 Chevrolet Suburban, and 2007 Chevrolet Avalanche. However, it is still accessible from the selected car via links, so may be relevant.
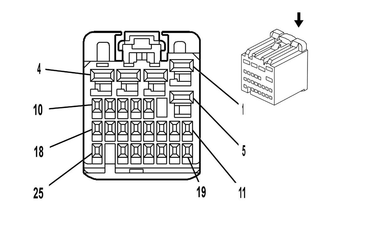
Fig 1: Body Control Module (BCM) C4 Connector End View
GM1664499Courtesy of GENERAL MOTORS CORP.
Body Control Module (BCM) C4 Connector Parts Information

Connector Part Information 
  • OEM: 15482792
  • Service: 88988841
  • Description: 25-Way F HIT Series (BK)
Terminal Part Information 
  • Pins: 1-5
  • Terminal/Tray: SNAC-A061T-M2.8/20
  • Core/Insulation Crimp: E/A
  • Release Tool/Test Probe: 12094429/J-35616-4A (PU)
  • Pins: 6-25
  • Terminal/Tray: SNAC3-A021T-M0.64/20
  • Core/Insulation Crimp: J/J
  • Release Tool/Test Probe: 12094429/J-35616-64B (L-BU)
Body Control Module (BCM) C4 Connector Terminal Identification

Pin Wire Color Circuit No. Function
1 RD/WH 2740 Battery Positive Voltage
2 RD/WH 3040 Battery Positive Voltage
3 RD/WH 2940 Battery Positive Voltage
4 RD/WH 2240 Battery Positive Voltage
5 D-BU/WH 1315 Right Front Turn Signal Lamp Supply Voltage
6 - - Not Used
7 YE 196 Windshield Wiper Motor Park Switch Signal
8 - - Not Used
9 BK/WH 451 Ground
10 RD/WH 2840 Battery Positive Voltage
11 D-GN/WH 1317 Fog Lamp Relay Control
12 YE 5187 Right Trailer Turn Signal Lamp
13 OG 5186 Left Trailer Turn Signal Lamp
14 L-GN 482 Outside Moisture Sensor Signal 2 (CE1)
15 OG 2268 Windshield Washer Relay Control
16 TN/WH 1969 Headlamp High Beam Relay Control
17 PK/BK 109 Hood Ajar Switch Signal
18 TN 481 Outside Moisture Sensor Signal 1 (CE1)
19 D-BU 5985 Accessory Wakeup Serial Data
20 - - Not Used
21 YE 5199 Run/Crank Relay Coil Control
22 - - Not Used
23 L-GN/BK 592 DRL Relay Control
24-25 - - Not Used