LEMON Manuals: Even more car manuals for everyone: 1960-2025
Home >> Cadillac >> 2012 >> Escalade EXT >> Repair and Diagnosis >> External Pages >> Different car >> Section 871 (Data Communication System) >> Component Locator >> Data Communication Connectors >> Body Control Module (BCM) X2
April 5, 2026: LEMON Manuals is launched! Read the announcement.

Body Control Module (BCM) X2

WARNING: This page is about a different car, the 2007 GMC Sierra and 2007 Chevrolet Silverado. However, it is still accessible from the selected car via links, so may be relevant.
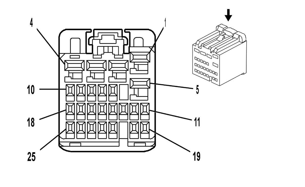
Fig 1: Body Control Module (BCM) X2 Connector End View
GM1664496Courtesy of GENERAL MOTORS CORP.
Body Control Module (BCM) X2 Connector Parts Information

Connector Part Information 
  • OEM: 15482790
  • Service: See Catalog
  • Description: 25-Way F HIT Series (WH)
Terminal Part Information 
  • Pins: 1-3, 5
  • Terminal/Tray: SNAC-A061T-M2.8/20
  • Core/Insulation Crimp: E/A
  • Release Tool/Test Probe: 12094429/J-35616-4A (PU)
  • Pins: 8, 11-12, 17-18, 21-22, 25
  • Terminal/Tray: SNAC3-A021T-M0.64/20
  • Core/Insulation Crimp: J/J
  • Release Tool/Test Probe: 12094429/J-35616-64B (L-BU)
Body Control Module (BCM) X2 Connector Terminal Identification

Pin Wire Color Circuit No. Function
1 0.5 OG 6815 Inadvertent Power Supply Voltage
2 0.5 RD/WH 2540 Battery Positive Voltage
3 0.5 BN/WH 230 Instrument Panel Lamps Dimming Control
4 - - Not Used
5 0.5 GY 157 Courtesy Lamp Control
6-7 - - Not Used
8 0.35 L-BU 13 Headlamp Switch Park Lamps Signal
9-10 - - Not Used
11 0.35 WH 278 Ambient Light Sensor Signal
12 0.35 WH 103 Headlamp Switch Headlamps On Signal
13-16 - - Not Used
17 0.35 D-GN 306 Headlamp Switch Headlamps Off Signal
18 0.35 D-BU/WH 149 Courtesy Lamp Supply Voltage
19-20 - - Not Used
21 0.35 L-BU 1788 Traction Control Switch Signal
22 0.35 YE 43 Accessory Voltage
23-24 - - Not Used
25 0.35 PU 328 Interior Lamp Defeat Switch Signal