LEMON Manuals: Even more car manuals for everyone: 1960-2025
Home >> Cadillac >> 2013 >> CTS Sedan AWD V6-3.6L >> Repair and Diagnosis >> Diagrams >> Connector Views >> Pedestrian Protection System >> Control Module, Pedestrian Protection System >> Pedestrian Impact Detection Module X1 (B3T)
April 5, 2026: LEMON Manuals is launched! Read the announcement.

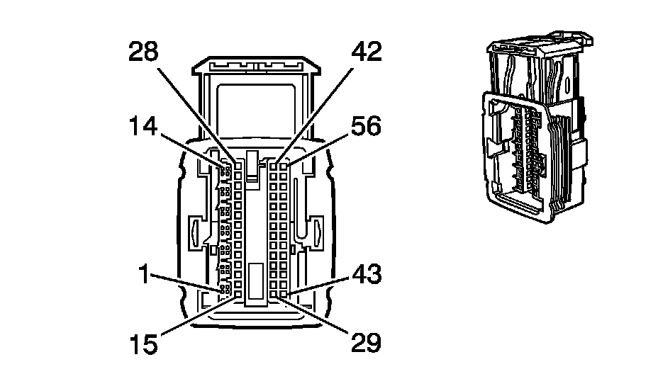
Pedestrian Impact Detection Module X1 (B3T)





Component Connector End Views

Pedestrian Impact Detection Module X1 (B3T)