LEMON Manuals: Even more car manuals for everyone: 1960-2025
Home >> Cadillac >> 2017 >> CTS Base, AWD >> Repair and Diagnosis >> Electrical >> Charging Systems >> Battery, Charging System And Starting System >> Repair Instructions >> Multifunction Energy Storage Capacitor Control Module Replacement (KL9) >> Installation Procedure
April 5, 2026: LEMON Manuals is launched! Read the announcement.

Installation Procedure

    Fig 1: Multifunction Energy Storage Capacitor Control Module
    GM4087156Courtesy of GENERAL MOTORS COMPANY
  1. Install Multifunction Energy Storage Capacitor Control Module (2)
  2. CAUTION:

    Refer to Fastener Caution .

  3. Install Multifunction Energy Storage Capacitor Control Module Nut (1) (Qty: 2) and tighten to 9 N.m (80 lb in)
  4. Fig 2: Auxiliary Generator Battery Jumper Cable
    GM4087151Courtesy of GENERAL MOTORS COMPANY
  5. Install Auxiliary Generator Battery Jumper Cable (2) (Qty: 3)
  6. Install Auxiliary Generator Battery Jumper Cable Nut (1) (Qty: 3) and tighten to 12 N.m (106 lb in)
  7. Connect the electrical connectors (3)
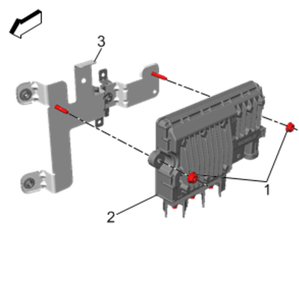
  8. Fig 3: Multifunction Energy Storage Capacitor Control Module
    GM4087148Courtesy of GENERAL MOTORS COMPANY
  9. Install Multifunction Energy Storage Capacitor Control Module Bracket (2)
  10. Install Multifunction Energy Storage Capacitor Control Module Bracket Bolt (1) (Qty: 2) and tighten to 9 N.m (80 lb in)
  11. Install Multifunction Energy Storage Capacitor Control Module Bracket Bolt (3) (Qty: 2) and tighten to 9 N.m
  12. Fig 4: Active Safety Control Module
    GM4262463Courtesy of GENERAL MOTORS COMPANY
  13. { If equipped } Install Active Safety Control Module Bracket (2)
  14. { If equipped } Install Active Safety Control Module Bracket Bolt (1) and tighten to 2.5 N.m (22 lb in)
  15. Install Rear Compartment Side Trim Replacement - Left Side
  16. Connect the negative battery cable. Battery Negative Cable Disconnection and Connection (with KL9) .
  17. Perform Stop/Start Capacitor Control State Health Reset. Stop/Start Capacitor Control State of Health Reset