LEMON Manuals: Even more car manuals for everyone: 1960-2025
Home >> Cadillac >> 2018 >> CTS Base, AWD >> Repair and Diagnosis (Single Page) >> Quick Lookups >> Wiring Diagrams >> Component Connector End Views (K47-K178) >> Component Connector End Views >> K176 Stop/Start Capacitor Control Module X1
April 5, 2026: LEMON Manuals is launched! Read the announcement.

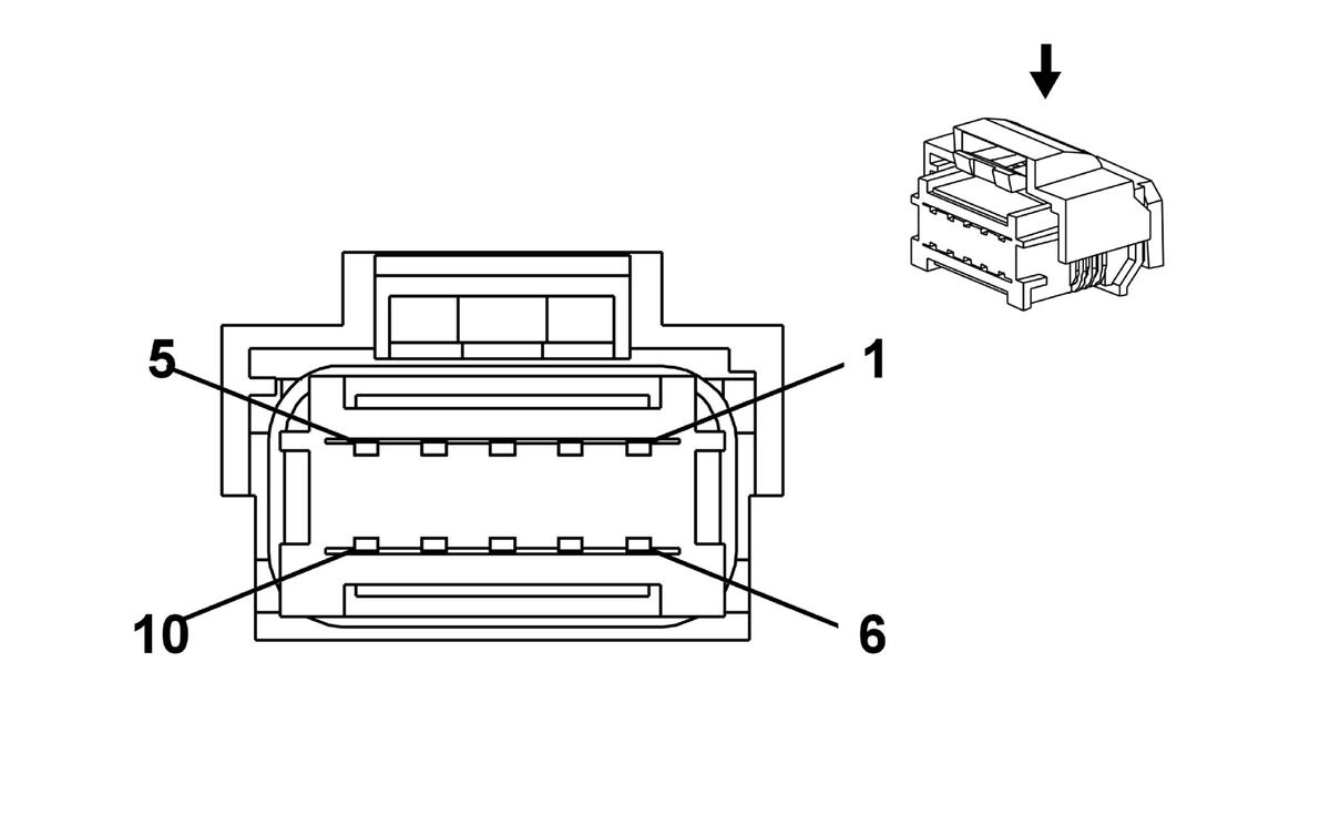
K176 Stop/Start Capacitor Control Module X1

GM3661014Courtesy of GENERAL MOTORS COMPANY
Connector Part Information
  • Harness Type: Body
  • OEM Connector: 7283-3104-30
  • Service Connector: 19353388
  • Description: 10-Way F 1.5 Series, Sealed (BK)
Terminal Part Information

Terminal Type ID Terminated Lead Diagnostic Test Probe Terminal Removal Tool Service Terminal Tray Name Core Crimp Insulation Crimp
I 19368550 J-35616-14 (GN) J-38125-12A Not Available Not Available Not Available Not Available
Pin Size Color Circuit Function Terminal Type ID Option
1 0.5 YE/BU 5096 Pack Cool Signal I KL9
2 - - - Not Occupied - -
3 0.5 BU/VT 5094 Module Temperature Signal I KL9
4 0.5 BK/BU 5095 Module Temperature Low Reference 1 I KL9
5 - - - Not Occupied - -
6 0.5 RD/WH 2040 Battery Positive Voltage I KL9
7 0.5 RD/GN 2440 Battery Positive Voltage I KL9
8 - - - Not Occupied - -
9 0.5 GN/YE 4623 Local Interconnect Network Serial Data Bus 23 I KL9
10 0.5 BK 2550 Ground I KL9