LEMON Manuals: Even more car manuals for everyone: 1960-2025
Home >> Chevrolet >> 1994 >> Cavalier Base, 2.2 4 >> Repair and Diagnosis (Single Page) >> Engine Performance >> System >> Engine Controls - Tests W/Codes - 3.1L >> ECM/Pcm Code Charts >> Code 62, Gear Switch Error >> Diagnostic Aids
April 5, 2026: LEMON Manuals is launched! Read the announcement.

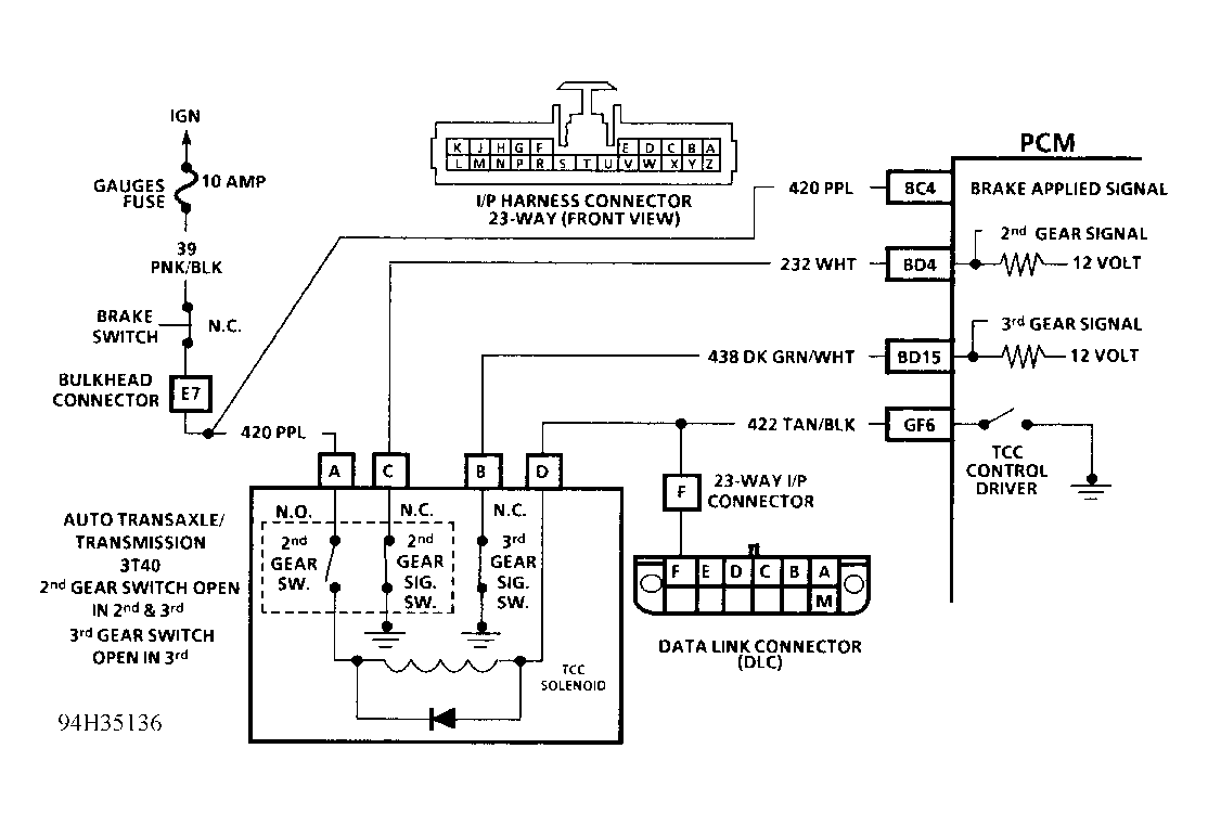
Diagnostic Aids

If vehicle is road tested for a TCC-related problem, ensure switch status does not change in 3rd gear because TCC will disengage. If switches change status, carefully check wiring harness/routing and connectors.

Fig 1: Code 62 Schematic (3.1L) Gear Switch Error
G94H35136
Fig 2: Code 62 Flow Chart (3.1L) Gear Switch Error
G91D07362