LEMON Manuals: Even more car manuals for everyone: 1960-2025
Home >> Chevrolet >> 1995 >> Cavalier/Z24 L4-2.2L VIN 4 >> Repair and Diagnosis >> Powertrain Management >> Relays and Modules - Powertrain Management >> Relays and Modules - Computers and Control Systems >> Engine Control Module >> Service and Repair
April 5, 2026: LEMON Manuals is launched! Read the announcement.

Engine Control Module: Service and Repair

PCM Location:




PCM Cover Removal:




EPROM Removal:




EPROM Installation:






Service of the Powertrain Control Module (PCM) should normally consist of either replacement of the PCM or a EPROM change.

If the diagnostic procedures call for the PCM to be replaced, the engine calibrator (EPROM) and PCM should be checked first to see if they are correct. If they are, remove the EPROM from the faulty PCM and install it in the new service PCM. THE SERVICE PCM WILL NOT CONTAIN AN EPROM. Diagnostic Trouble Code (DTC) 51 indicates the EPROM is installed improperly or has malfunctioned. If DTC 51 is set, check the PCM connectors for bent pins or pins not fully seated in the socket. If it is installed correctly and DTC 51 is still displayed, replace the EPROM.

REMOVE OR DISCONNECT
1. Negative battery cable.
2. R.H. engine splash shield.
3. Horn attaching bolt.
4. Horn electrical connector and horn.
5. PCM retainer attaching bolts (2).
6. Slide PCM and retainer from PCM bracket.
7. PCM electrical connectors.
8. Retainer from PCM.

NOTICE:
Before removing PCM cover, carefully clean PCM housing with compressed air to remove any debris that may cause damage to PCM circuitry.

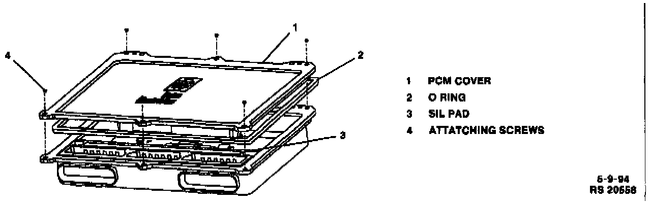
9. PCM cover (see image).

CAUTION:
To prevent possible Electrostatic Discharge damage to the PCM or EPROM, do not touch the connector pins or soldered components on the circuit board and do not remove integrated circuit from carrier.

NOTICE:
When removing PCM cover, sil pad may tear. This is considered normal and should not be remedied by using any type of sealant or adhesive to sil pad area as this may cause damage to PCM circuitry.

10. EPROM (see image).

CAUTION
Using two fingers, push both retaining clips back away from the EPROM. At the same time, grasp it at both ends and lift it up out of the socket. Do not remove the cover of the EPROM. Use of unapproved EPROM removal methods may cause damage to the EPROM or socket.

Inspect
For alignment notches of the EPROM and carefully set it aside.

IF PCM IS BEING REPLACED

Remove or Disconnect
1. Remove PCM from it's packaging and check the service number to make sure it is the same as the faulty PCM.
2. PCM cover.

Install or Connect
1. EPROM in EPROM socket (see images).

CAUTION:
Gently press down on the ends of the EPROM until the clips are against the sides of the EPROM. DO NOT press on the ends of the EPROM until the clips snap into place or the controller circuit board and/or clips may be damaged. Press inward on the clips until they snap into place.

2. PCM cover (see image).

Tighten
PCM cover screws to 2.8 - 3.2 Nm (25 - 28 lb. in.).

3. Slide PCM into PCM retainer.
4. PCM electrical connectors.
5. Slide PCM retainer into PCM bracket slots.
6. PCM retainer attaching bolts (2).

Tighten
(2) PCM retainer attaching bolts to 8 - 12 Nm (6 - 9 lb. ft.)

7. Horn electrical connector and horn.
8. Horn attaching bolt.

Tighten
Horn attaching bolt to 8 - 12 Nm (6 - 9 lb. ft.).

9. R.H. engine splash shield.
10. Negative battery cable.