LEMON Manuals: Even more car manuals for everyone: 1960-2025
Home >> Chevrolet >> 1995 >> Corvette Base, 2D Convertible, Automatic >> Repair and Diagnosis >> Engine Performance >> System >> Engine Controls - Tests W/Codes >> ECM/Pcm Code Charts >> Code 97, VSS Output Circuit >> Test Description
April 5, 2026: LEMON Manuals is launched! Read the announcement.

Test Description

NOTE: Test numbers refer to numbers on diagnostic chart.
  1. Disable Traction Control (TC) system (if equipped) prior to this step. Switch is located in glove box. Whenever ignition is cycled off and then on, TC system will default to on. If vehicle speed is indicated at this point, code is intermittent.
  2. Use Jumper Harness (J 35616-A) to prevent damage to harness.
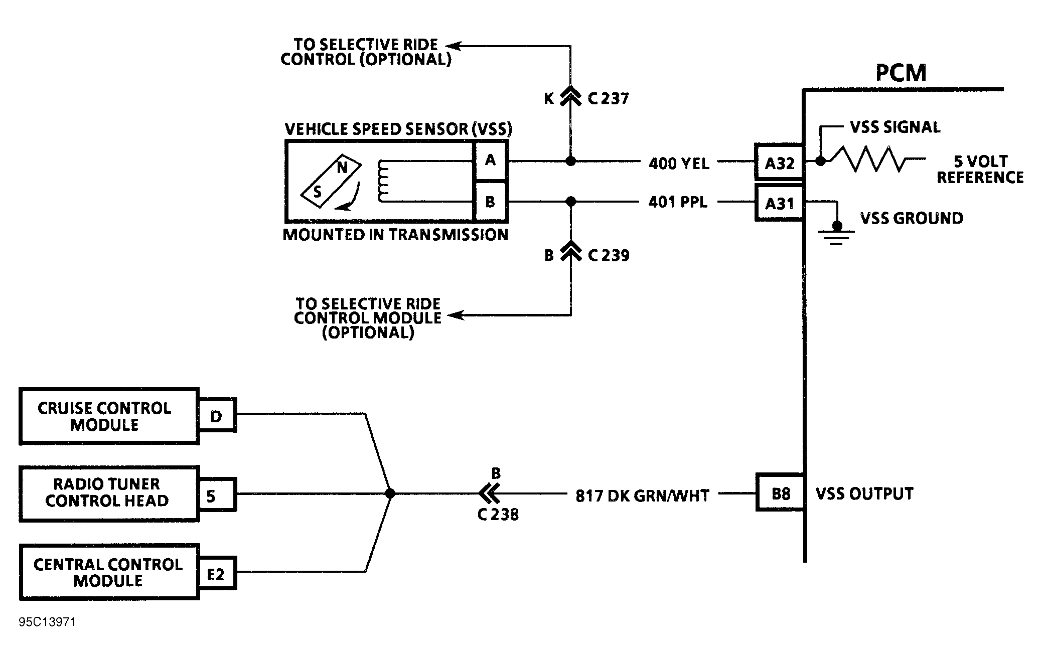
Fig 1: Code 97 Schematic (Corvette) VSS Output Circuit
G95C13971
Fig 2: Code 97 Diagnostic Flow Chart (Corvette) VSS Output Circuit
G94G31969