LEMON Manuals: Even more car manuals for everyone: 1960-2025
Home >> Chevrolet >> 2000 >> Venture V6-3.4L VIN E >> Repair and Diagnosis >> Diagrams >> Components >> Modules >> Malfunction Indicator Lamp Traction Control Module
April 5, 2026: LEMON Manuals is launched! Read the announcement.

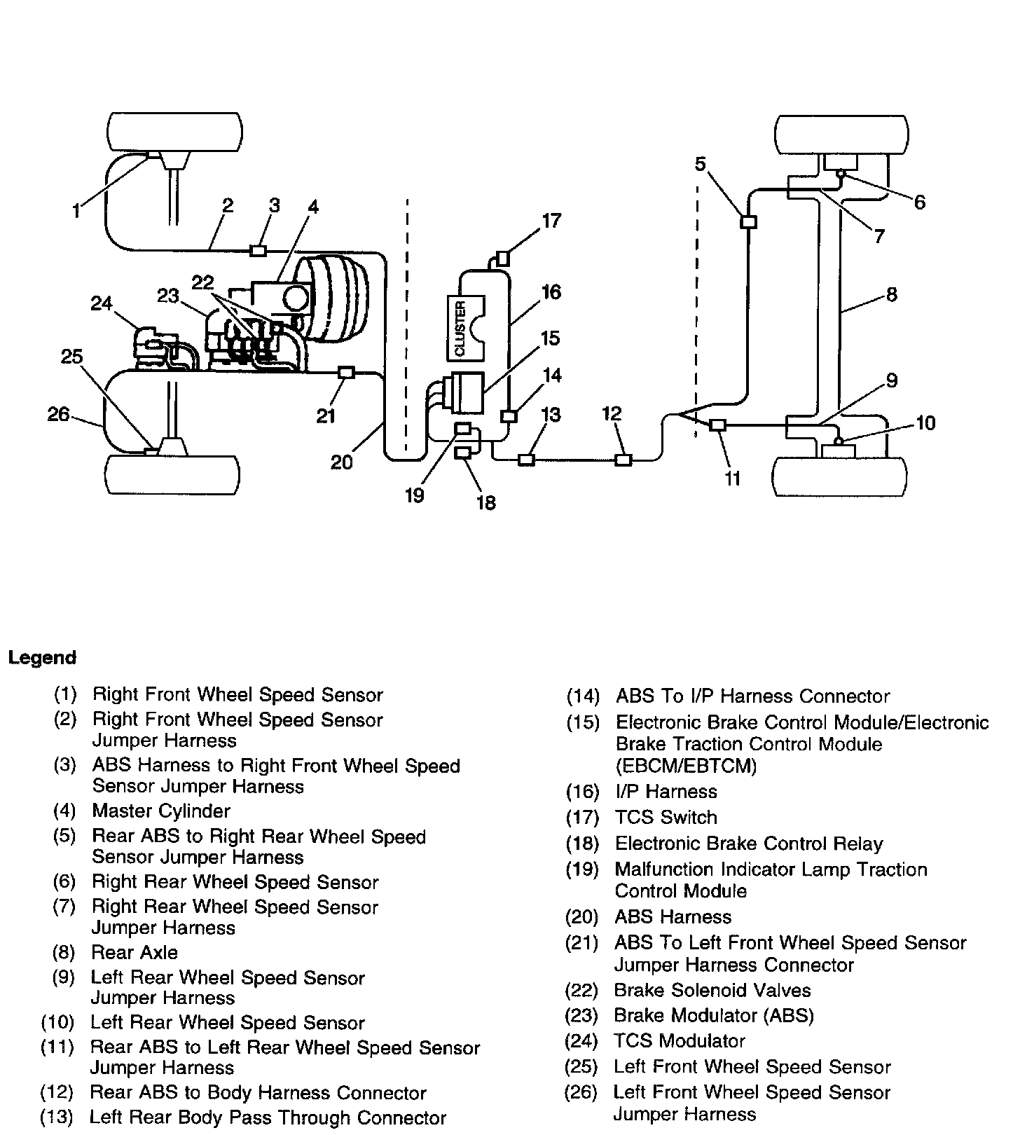
Malfunction Indicator Lamp Traction Control Module

Locations View: